Multi-compressor refrigeration units. Oil distribution problems
- Authors: Shishov V.V.1, Fursov E.V.1
-
Affiliations:
- Bauman Moscow State Technical University
- Issue: Vol 92, No 1 (2003)
- Pages: 32-34
- Section: Articles
- URL: https://freezetech.ru/0023-124X/article/view/106126
- DOI: https://doi.org/10.17816/RF106126
- ID: 106126
Cite item
Full Text
Abstract
When the number of compressors running in parallel is equal to or greater than four, or when the compressors have different capacities (although parallel connection of compressors of different capacities and designs must be avoided), or the amount of oil returned is unknown, an oil level regulator (OLR) and oil separator (OS) system is preferable. With this system, the difference in pressure inside the crankcase of each compressor has no effect on oil level stabilization.
Full Text
СИСТЕМА С РЕГУЛИРОВАНИЕМ УРОВНЯ МАСЛА
В случае, когда число параллельно работающих компрессоров равно или более четырех или компрессоры имеют разную производительность (хотя параллельного соединения компрессоров разной производительности и конструкции необходимо избегать), или неизвестно количество возвращаемого масла, предпочтительной оказывается система с регулятором уровня масла (РУМ) и маслоотделителем (МО) (рис. 1). При использовании этой системы разница в давлениях внутри картера каждого компрессора не оказывает влияния на стабилизацию уровня масла.
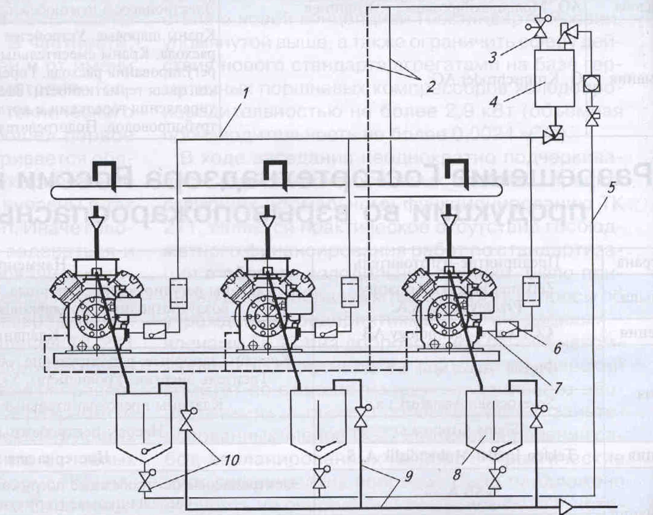
Рис. 1. Схема системы с регулированием уровня масла
На всю систему приходится один общий МО, а каждый компрессор имеет свой РУМ, который устанавливают на месте крепления смотрового стекла. Масло из МО поступает в маслосборник (MC) и затем через РУМ в компрессор.
МО рекомендуется выбирать с учетом суммарной производительности параллельно соединенных компрессоров при условии гарантированной сепарации масла в режимах частичной и полной нагрузки. Если компрессоры находятся в холодном помещении, МО необходимо теплоизолировать во избежание конденсации хладагента в нерабочие периоды. Вероятность этого процесса уменьшается установкой обратного клапана на линии нагнетания за МО. В некоторых случаях может оказаться необходимым также подогрев МО.
При объединении более трех компрессоров (Maneurop) на каждый из них устанавливают РУМ, представляющие собой механические поплавковые вентили.
Фирма Copeland рекомендует применять механические регуляторы уровня масла только на компрессорах, имеющих реле контроля смазки.
На рис. 2. представлен вариант исполнения системы с РУМ, индивидуальными МО и MC. Давление в MC превышает давление всасывания (либо промежуточное давление в двухступенчатых компрессорах) на 1,4 бар, что достигается использованием дифференциального клапана давления. Для установки РУМ используется соответствующий адаптер-переходник.
Рис. 2. Многокомпрессорный холодильный агрегат с регуляторами уровня масла: 1 — маслопровод; 2 — линия сброса давления; 3 — дифференциальный клапан давления; 4 — маслосборник (MC); 5 — линия возврата масла; 6 — регулятор уровня масла (РУМ); 7 — присоединительный переходник; 8 — маслоотделитель (МО); 9 — линия нагнетания; 10 — обратный клапан
ЭЛЕКТРОННЫЕ БЛОКИ УПРАВЛЕНИЯ
Электронная система регулирования, например электронный блок управления VS2000 или VS1000 для агрегатов с более чем 4 компрессорами (Linde) либо INT 2000SD2 (Kriwan), позволяет согласовать холодопроизводительность многокомпрессорного холодильного агрегата (МХА) с потребностью в холоде.
В системах управления предусмотрено циклическое переключение основной нагрузки с одного компрессора на другой (с примерно двухчасовым циклом), что обеспечивает одинаковое время работы компрессоров и повышает надежность системы динамического распределения масла.
ПРЕДОХРАНИТЕЛЬНЫЕ УСТРОЙСТВА
Для контроля уровня масла в сателлитных МХА со спиральными компрессорами между всасывающим коллектором и уравнительным трубопроводом (УТ) встроены указатели уровня масла, а также запорные вентили (рис. 3). Контрольное устройство служит исключительно для проверки уровня масла в состоянии покоя.
Рис. 3. Контроль уровня масла в сателлитных МХА
Чтобы проконтролировать уровень масла, следует выключить все компрессоры и открыть запорный вентиль. Через 5 мин благодаря выравниванию давления установится одинаковый уровень масла. Верхний указатель служит для предотвращения перелива масла, поэтому при нормальном заполнении на нем не должно быть показаний. При необходимости следует долить или удалить масло. Перед запуском компрессора нужно закрыть запорный вентиль.
В случае неисправности в поплавковом клапане МО возможен прорыв горячего газа в линию всасывания компрессора. Этого можно избежать, установив на линии возврата масла нормально закрытый соленоидный вентиль, который будет периодически подавать масло в компрессоры (в течение 5 с каждые 10 мин работы).
Рекомендуется установка масляных фильтров на линии возврата масла.
В компрессорах с насосной системой смазки давление масла контролируется с помощью реле контроля смазки - РКС (дифференциальные регуляторы давления типа МР54 или 55 фирмы Danfoss). При разности давлений в масляном насосе ниже установленной величины РКС отключает соответствующий компрессор.
Для работы сателлитного МХА с более чем четырьмя компрессорами в одной температурной ступени и при расположении компрессоров на нескольких уровнях станины подачу масла обеспечивают МО, MC и электронные регуляторы уровня масла (Linde использует регуляторы TraxOil фирмы Sporland), которые следят за маслоснабжением, а следовательно, и за безаварийной работой компрессоров.
Фирма Copeland применяет регуляторы уровня масла ОМА-TraxOil, выпускаемые Alco Controls, или другие регуляторы подобного типа с фланцевыми или резьбовыми соединениями 3/4" и 11/8". Они подходят для компрессоров различных фирм (Copeland, Maneurop, Bitzer и т.д.) и присоединяются вместо указателя уровня масла.
Электронные регуляторы подключаются к управляющей либо предохранительной цепи. Рабочее напряжение 24 В.
Если уровень масла ниже требуемого, магнитный вентиль открывается и подает дополнительное количество масла. При достижении требуемого уровня магнитный вентиль остается открытым еще 10 с. Если уровень масла будет ниже требуемого в течение 120 с, то компрессор отключается и подается аварийный сигнал.
Электронный регулятор уровня масла автоматически вновь включает компрессор по достижении требуемого значения уровня масла.
МАСЛО ДЛЯ ХОЛОДИЛЬНЫХ СИСТЕМ
Хладагент и применяемое масло должны быть взаимно растворимы. В МХА на R22 и R402A фирма Linde в настоящее время использует главным образом масло Shell 22-12 (международное обозначение: рефрижераторное масло Shell SD). Это масло уже применялось ранее в МХА на R502. При переходе с R502 на R402A сорт масла остается прежним, но нужно заменить его свежим.
Исключением являются МХА с герметичными компрессорами, которые требуют особого температуростойкого масла. Фирма Maneurop использует для своих компрессорно-конденсаторных агрегатов MGM и HGM (R 22) минеральное масло 160Р, для MGZ и HGZ (R 404А, R 507, R 134а) - синтетическое масло 160PZ, для LGZ (R 404А, R 507) - синтетическое масло 160Z.
В компрессорах Danfoss применяют алкилбензольное масло.
Рекомендации фирмы Bitzer по использованию масел для R22 и аммиака даны в таблице1.
Таблица. Масла, рекомендуемые фирмой Bitzer для использования с R22 и N11
Производитель | Марка | Тип масла | Вязкость, м2/с•102, (40°C) | Область применения (H)CFC NH3 | |
Оригинальные масла |
| ||||
BITZER | В 5.2 | M/A | 39 | HML |
|
SHELL | Clavus G 68 | M | 65 |
| HM |
Альтернативные масла | |||||
ADDINOL | XK ЗО | A | 30 | HML |
|
XKS 46 | A | 46 | HML |
| |
XKS 68 | A | 68 | IIML |
| |
AGIP | TER 32 | M | 30 | HM(I.) |
|
TER 46 | M | 44 | HM |
| |
TER 60 | M | 59 | HM | HM | |
ARAL | Alur ЕЕ 32 | M | 32 | HM(L) |
|
Alur ЕЕ 46 | M | 46 | HM |
| |
Alur ЕЕ 68 | M | 68 | HM |
| |
BP | Energol LPTF 32 | M | 32 | HM(L) |
|
Energol LPTF 46 | M | 46 | HM | HM | |
BURMAN/CASTROL | Icematic 266 | M | 30 | HM(L) |
|
Icematic 299 | M | 57 | HM |
| |
Icematic 2284 | A | 64 | HML |
| |
DEA | Triton MS 32 | M/A | 30 | HM(L) |
|
Triton MS 46 | M/A | 43 | HM |
| |
Triton MS 68 | M/A | 63 | HM |
| |
Triton S 32 | A | 32 | HML |
| |
Triton S 32 | A | 46 | HML |
| |
Triton S 32 | A | 67 | HM |
| |
ELF/CALPAM | Friga 2 | M | 58 | HM | HM |
ESSO | Zerice S 46 | A | 48 | HML |
|
Zerice S 68 | A | 64 | HML |
| |
Zerice R 46 | M/A | 50 | HM(L) |
| |
Zerice R 68 | M | 68 | HM |
| |
Производитель | Марка | Тип масла | Вязкость, м2/с·102, (40°C) | Область применения (H)CFC NH3 | |
FUCHS | Reniso SP 32 | A | 32 | HML |
|
Ren iso SP 46 | A | 47 | HML |
| |
Reniso SP 68 | A | 68 | HML |
| |
Reniso HР 32 | M/A | 34 | HML |
| |
Reniso КМН 46 | M/A | 47 | HML |
| |
Reniso KM 32 | M | 32 | HM(L) |
| |
Reniso KS 46 | M | 47 | HM |
| |
Reniso КС 68 | M | 68 | HM |
| |
MOBIL | Arctic C heavy | M | 44 | HM |
|
KÖLF | M | 46 | HM(L) |
| |
Arctic Oil 30ü | M | 60 | HM | HM | |
Arctic F heavy | M | 64 | HM | HM | |
PETRO- SYNTHESE | Zerol 150 | A | 30 | HML |
|
Zerol 300 | A | 53 | HML |
| |
SHELL | T22-12/SD-Refr. Oil | M/A | 39 | HML |
|
Clavus G 32 | M | 30 | HM(L) |
| |
Clavus G 46 | M | 44 | HM(L) |
| |
Clavus G 68 | M | 65 | HM | HM | |
Clavus 68 | M | 65 |
| HM | |
SUN OIL | Suniso 3GS | M | 30 | НM(L) |
|
Suniso HT 25 | M | 43 | HM(L) |
| |
Suniso 4GS | M | 57 | HM | HM | |
TEXACO/CALTEX | Refrig. Oil Low temp.32 | M/A | 30 | HM(L) |
|
Refrig. Oil Low temp. 46 | M/A | 43 | HM |
| |
Refrig. Oil Low temp. 68 | M/A | 63 | HM |
| |
Capella Oil WF 32 | M | 30 | HM(L) |
| |
Capella Oil WF 46 | M | 46 | HM |
| |
Capella Oil WF 68 | M | 46 | HM | HM | |
TOTAL | Lunaria S 32 | M | 30 | HM(L) |
|
Lunaria S 46/68 | M | 55 | HM |
| |
WINTER-SHALL | Wiolan KFL | M | 32 | HM(L) |
|
Wiolan KFM | M | 46 | HM |
| |
Wiolan KFO | M | 68 | HM | HM | |
Примечания: 1. Тип масла: М — минеральное. А — алкилбензольное. М/А частично синтетическое (М+А). 2. Область применения: Н — кондиционирование, М — средние температуры, L — низкие температуры, (L) — низкие температуры при использовании полугерметичных компрессоров, работающих при высокой температуре конденсации.
Для систем с высокой тепловой нагрузкой (тепловые насосы, низкотемпературные установки) фирма Bitzer настоятельно рекомендует применять только масло Bitzer В 5.2.
Синтетические алкилбензольные масла средней вязкости типа ХК 57, характеризуемые химической стабильностью и хорошей растворимостью с хладагентами, применяют в низкотемпературных холодильных машинах на любых хладагентах HCFC. Они являются эффективными низкотемпературными компонентами в многокомпонентных маслах Shell 22-12 и т.д.
Для компрессоров DWM фирма Copeland допускает использовать следующие масла, а также смеси из них:
Производитель Марка
R/ Fuchs, Mineralölwerk Fuchs KM
SUN OIL Suniso 3GS
TEXACO Capella Oil WF 32
SHELL Shell 22-12
В спиральных компрессорах Copeland на R 22 используется «Белое масло» (за исключением моделей ZR 90КЗ... ZR 19МЗ, в которых применяется масло Suniso 3GS). «Белое масло» совместимо с маслами Suniso 3GS, Texaco WF 32 и Fuchs KM.
Новые, не содержащие хлора хладагенты, например R134a и R404A, не растворяются в обычных холодильных маслах, в том числе в масле Shell 22-12.
Поэтому в МХА на R134a и R404A используют сложноэфирные (как правило, полиэфирные) масла.
Компрессоры Copeland поставляются со следующими полиэфирными маслами (РОЕ):
Производитель Марка
MOBIL EAL Arctic 22 СС
EAL Arctic 68
(только компрессоры D6C)
ICI Emkarate RL 32 CF
При работе со сложноэфирными маслами следует обязательно соблюдать два правила:
• нельзя оставлять масло в открытой таре более 15 мин (Maneurop). Сложноэфирные масла чрезвычайно гигроскопичны, а при взаимодействии сложноэфирного масла с водой образуется кислота. Максимально допустимое значение влагосодержания в открытом масле, равное 200 ppm, будет превышено при температуре окружающего воздуха 25°С и его относительной влажности 50 % через 2 ч. Доливать сложноэфирные масла следует из небольших емкостей, чтобы по возможности минимизировать поглощение влаги из воздуха, так как осушить масло непросто. Проверку качества масла (проверку кислотности) следует проводить не реже одного раза в год. Если результаты проверки отрицательны, то следует заменить масло и сменный сердечник фильтра;
• доливать можно только те сорта масла, которые указаны на компрессоре. Молекулярные структуры сложноэфирных масел могут различаться, кроме того, некоторые из них содержат неприемлемые добавки.
Рекомендуется заменять масло после 20 000 - 25 000 ч работы агрегата.
МХА СО СПИРАЛЬНЫМИ КОМПРЕССОРАМИ В САТЕЛЛИТНОМ (ДВОЙНОМ) РЕЖИМЕ
Выравнивание уровня масла в сателлитном режиме также производится при помощи УТ, подключенного к штуцерам смотровых стекол компрессоров, во время оттайки.
Выравнивающие маслопроводы средне- и низкотемпературных блоков связаны между собой при помощи управляемого магнитного вентиля. Регулировка уровня масла происходит при одновременном размораживании всех потребителей блока низкотемпературного охлаждения. В начале оттаивания магнитный вентиль размыкает соединительную линию. Так как давление всасывания в корпусах компрессоров различается, сначала из компрессоров среднетемпературного охлаждения в компрессоры низкотемпературного охлаждения подается излишнее масло. В конце оттайки, когда давление в компрессорах низкотемпературного охлаждения превышает давление в компрессорах среднетемпературного охлаждения, избыточное масло подается в обратном направлении.
По окончании размораживания магнитный вентиль вновь закрывается.
Если в одной температурной ступени более четырех компрессоров и они расположены на нескольких уровнях станины, снабжение маслом обеспечивав МО, МС и электронные регуляторы уровня масла.
КТ-500-2 Refrigeration Oil Piston Compressors with (H)CFCs or NH3,
KT-600-1 Combined or parallel circuits with BITZER reciprocating compressors.
About the authors
V. V. Shishov
Bauman Moscow State Technical University
Author for correspondence.
Email: info@eco-vector.com
Russian Federation, Moscow
E. V. Fursov
Bauman Moscow State Technical University
Email: info@eco-vector.com
Russian Federation, Moscow
References
Supplementary files






