Problem of increased humidity in ice arenas and possible solutions
- Authors: Neverov E.N.1, Korotkiy I.A.1, Kozaev A.A.2, Korotkih P.S.1, Gushin A.A.1
-
Affiliations:
- Kemerovo State University
- Innovator LLC
- Issue: Vol 110, No 4 (2021)
- Pages: 185-192
- Section: Reviews
- URL: https://freezetech.ru/0023-124X/article/view/108646
- DOI: https://doi.org/10.17816/RF108646
- ID: 108646
Cite item
Abstract
This paper reviews the problem of high humidity in an ice arena in Sochi and ways of solving it. The authors consider the ventilation system structure and determine the causes of the high humidity—moisture in the water vapor forms and a cold surface of ice cools the surrounding space and objects. The consequences of this air state are fogging over the ice surface, namely, condensate formation, which exacerbates the quality of the ice rink, corrosion of steel and iron structures, and mold attack. In addition, the facility microclimate is uncomfortable for people to stay there. During this study, the authors identified several ways to achieve the necessary indoor air parameters. The first method is sorption dehumidification. This system can function at low temperatures and cope with extreme dampness, but it has significant costs. The second method, which is simpler and more effective, is assimilation. This method is based on the ability of warm air masses to hold a larger amount of water vapor than cold air masses. This method for improving the air parameters is more effective when required to modify an existing ventilation system. In this particular case, in the ice arena in Sochi, assimilation was the most effective method. Air coolers with a drift eliminator were installed in the existing ventilation system. The calculation of the selected heat exchangers was performed using ventilation equipment selection software (VESS).
Full Text
ВВЕДЕНИЕ
По данным Международной федерации хоккея на льду, в России 419 крытых арен. При этом в России, активно продвигается строительство новых и реконструкция действующих ледовых арен различного назначения [1, 2].
Дальнейшее развитие этого направления невозможно без перехода на новый уровень технического оснащения, автоматизации и безопасности данных объектов, а также нужно не забывать при строительстве новых объектов о создании микроклимата, как для игроков, обслуживающего персонала, так и для зрителей.
Работоспособность человека значительно снижается в некомфортных условиях, таких как жара, холод, чрезмерная влажность, духота и другие параметры напрямую влияют на производительность труда. Помимо работоспособности человека микроклимат влияет на окружающие предметы, такие как поверхность льда, металлоконструкции и т.д. [2–4].
Технологическое оборудование современного ледового спортивного сооружения представляет собой совокупность множества систем, таких как: системы холодоснабжения, кондиционирования, водоснабжения, теплоснабжения, канализирования, электроснабжения, различного вида системы безопасности и др.
Ледовые спортивные сооружения требуют больших капитальных вложений при строительстве и последующей эксплуатации. На сегодняшний день это весьма энергоемкие строения, нуждающиеся в гибком, индивидуальном подходе на стадии проектирования, особенно в вопросах инженерно-технического оснащения. Применение современных технологий утилизации избыточной теплоты позволяет сделать их комфортабельными для посетителей и сэкономить значительные финансовые средства [3–5].
На ледовых аренах, как правило, возникают проблемы с влажностью, обусловленные двумя факторами: наличием влаги, которая в воздухе находится в виде водяного пара и наличием холодной поверхности льда, охлаждающей окружающее пространство и предметы. Основным источником влаги ледовой арены является наружный воздух, который попадает в помещение через вентиляцию. Повышенное содержание влаги в воздухе ведет к появлению конденсации и тумана в помещении, что, в свою очередь, приводит к коррозии, распространению плесени и порче строительных конструкций. Туман в помещениях, как правило, образуется при смешивании наружного воздуха и холодного воздуха над поверхностью льда. Конденсат в помещении оседает на потолке и предметах, вследствие понижения температуры ниже точки росы окружающего воздуха. Выпадение конденсата ухудшает качество ледового покрытия и делает его небезопасным для использования, а также при влажности более 60–70% происходит коррозия стальных конструкций и распространение плесени. При повышенной влажности микроклимат в помещении становиться некомфортным, так как воздух ощущается «сырым» и «липким».
Оптимальный уровень влажности подбирается в зависимости от задач, которые возлагаются на систему осушения. Принятые в проектах системы воздухораспределения помещений с ледовыми площадками (катков различного назначения, ледовых арен и др.) в значительной мере определяют состояние микроклимата в зоне ледовой площадки и трибун для зрителей, а также состояние льда [5–9].
В качестве практического примера выступает гордость зимних Олимпийских игр 2014 года — это ледовая арена «Шайба». Это второй по значимости стадион, находящийся в Олимпийском парке. Она построена в 2012 году и рассчитана на 7000 зрителей. В 2013 на ней прошел первый чемпионат мира по хоккею среди юниорских команд, а в рамках олимпиады в 2014 году на арене соревновались хоккеисты из разных стран. Сама арена занимает площадь более 26000 м2, высота здания около 23 м. Общий вес металлоконструкций составляет 48000 т. Для подсветки здания используются около 700 светильников, которые имеют более 45000 светодиодов, связанные между собой кабелем длиной примерно 18 км. Ледовая арена стала совместным Итальяно–Российским объектом, за основную концепцию была взята ледовая арена «Шайба» [5–9].
Рядом с «Шайбой» находится тренировочный каток «Льдинка» с двумя ледовыми полями. На них во время Олимпийских игр, проводились тренировки хоккейных команд.
Обе ледовые арены были построены из сборных конструкций, соединенных между собой крепкими сверхпрочными болтами. Все это было сделано специально для того, чтобы после проведения Олимпийских игр перенести их в другие российские города. «Шайбу» изначально планировалось перенести во Владикавказ, Краснодар или Нижний Новгород, а тренировочную арену «Льдинка» в Ставрополь. Но позже стало известно, что из-за особенностей конструкции фундамента перенос обоих арен невозможен. Поэтому было решено на базе ледового дворца создать детский спортивно-оздоровительный центр.
Из-за того, что ледовые арены были спроектированы для зимних Олимпийских игр в жарком городе, а перенос из-за особенностей конструкции невозможен, появилась проблема с эксплуатацией арен — туманообразование и скапливание большого количества конденсата на окнах и других поверхностях из-за того, что система кондиционирования не справляется с нагрузкой, что мешает зрителям комфортно наблюдать за соревнованиями.
ЦЕЛЬ ИССЛЕДОВАНИЯ
Целью работы является определение рабочих параметров состояния воздуха на ледовой арене «Шайба» и подбор оборудования для эффективной работы системы вентиляции.
МАТЕРИАЛЫ И МЕТОДЫ
На протяжении существования ледовой арены «Шайба» имелись проблемы с повышенной влажностью, которая не соответствовала технической документации, и, соответственно, система вентиляции арены не могла обеспечить заданные параметры.
Рис. 1. Сорбционное осушение.
Fig. 1. Sorption drying.
Специалистами Кемеровского государственного университета произведен анализ действующей системы вентиляции, из которого было сделано заключение об отклонении параметров воздуха по влажности, которая составила примерно 65%.
Для решения данной задачи можно использовать два следующих способа:
- Сорбционное осушение. Основным элементом является ротор, проходя через который, воздушные массы осушаются и, таким образом, избавляются от лишней жидкости (рис. 1). Система способна функционировать при низких температурах (до -40°С), а также способна справляться даже с экстремальной сыростью и совместима с приборами предварительного охлаждения воздуха, но требует существенных затрат (адсорбционный процесс, воздух проходит через материал, адсорбирующий влагу). Сорбционное осушение имеет свое преимущество, как способ поддержания влажности на ледовых аренах [10–12]:
- снижает энергозатраты и трудозатраты на поддержание работоспособности арены,
- улучшает качество ледового покрытия;
- приводит к отсутствию образования коррозии на металлических поверхностях;
- исключает появление тумана над ледовой ареной;
- приводит к отсутствию появления толщи льда по краям арены;
- эффективен и прост в использовании в течение всего года;
- требует единоразовых вложений.
- Ассимиляция базируется на способности теплых воздушных масс удерживать большее, в сравнении с холодными, количество водяных паров. Данный способ относительно прост и эффективен, когда необходимо доработать уже существующую систему (конденсационный процесс, охлаждение воздуха до температуры конденсации) (рис. 2).
Рис. 2. Схема процесса ассимиляции воздуха.
Fig. 2. Schematic of the air assimilation process.
При расчете холодопроизводительности холодильных станций учитывается теплый период года. Также нормируются параметры внутреннего воздуха для зоны размещения зрителей, зоны нахождения занимающихся и температура льда исходя из специфики вида ледового спорта. На ледовых площадках нормируется температура воздуха на высоте 1,5 м над ледовой поверхностью. Значение температуры воздуха зависит от вида ледового спорта, для которого готовится арена.
Метод ассимиляции не является универсальным и требует значительных материальных затрат в отличие от сорбционного осушения, но в исследуемом случае данный способ более эффективен, так как требуется доработать уже имеющуюся систему вентиляции.
РЕЗУЛЬТАТЫ И ОБСУЖДЕНИЯ
При проектировании систем кондиционирования воздуха помещений с ледовыми площадками необходимо круглогодично поддерживать оптимальные параметры внутреннего воздуха. Задача сводится к обеспечению требуемых параметров в зоне нахождения, занимающихся на ледовой площадке и в зоне размещения, зрителей.
Конструктивным решением использования метода ассимиляции на ледовой арене является применение встраиваемых теплообменных аппаратов водяного охлаждения (рис. 3), который состоит из определенного количества оребренных труб. В корпусе аппарата имеется два патрубка, для входа и выхода хладоносителя (водного раствора гликоля или воды). Также корпус имеет фланцы для крепления к трубопроводу. Помимо этого, теплообменник оснащен пробками для быстрого стравливания воздуха слива воды и монтажными приспособлениями. Корпус водяного охладителя выполняется из углеродистой или нержавеющей стали. Материал, из которого изготовлены трубки зависит от качества воды, а также от условий работы установки. Как правило, материалом для труб является нержавеющая сталь или латунь. Оребрение труб чаще всего изготавливают из сплава алюминия.
Промышленные водяные воздухоохладители различаются между собой производительностью, диаметром и оребрением труб, количеством циклов прохождения охлаждающей жидкости и конструктивному исполнению.
Каплеуловители входящие в конструкцию теплообменного аппарата изготавливают из оцинкованной стали. Корпус внутри покрыт изолятором от конденсации влаги и коррозии металлов. Внутри корпуса встраиваются фильтры — коалесцеры, улавливающие влагу из воздуха. Коалесцеры представляет собой специальный фильтровальный элемент, принцип действия которого основан на явлении коалесценции, являющейся процессом слияния капель и других подобных частиц среды внутри жидкости или газа.
Принцип действия водяного охладителя с каплеуловителем заключается в следующем: охлажденная вода поступает в теплообменник, где через оребрение труб снимает излишнюю температуру проходящего сквозь него воздушного потока. Каплеуловитель работает по принципу соединения мелких капель в большие. С каждым слоем фильтра, капля набирает массу, поскольку поры в каждом следующем слое все больше. Проходимый в вентиляции воздух направляет влагу к выходу из фильтра, где крупные капли отделяются от сетки коалесцера. Когда влага уже не может задерживаться на поверхности фильтра, из-за веса капель, вода падает в специальный поддон (см. рис. 3).
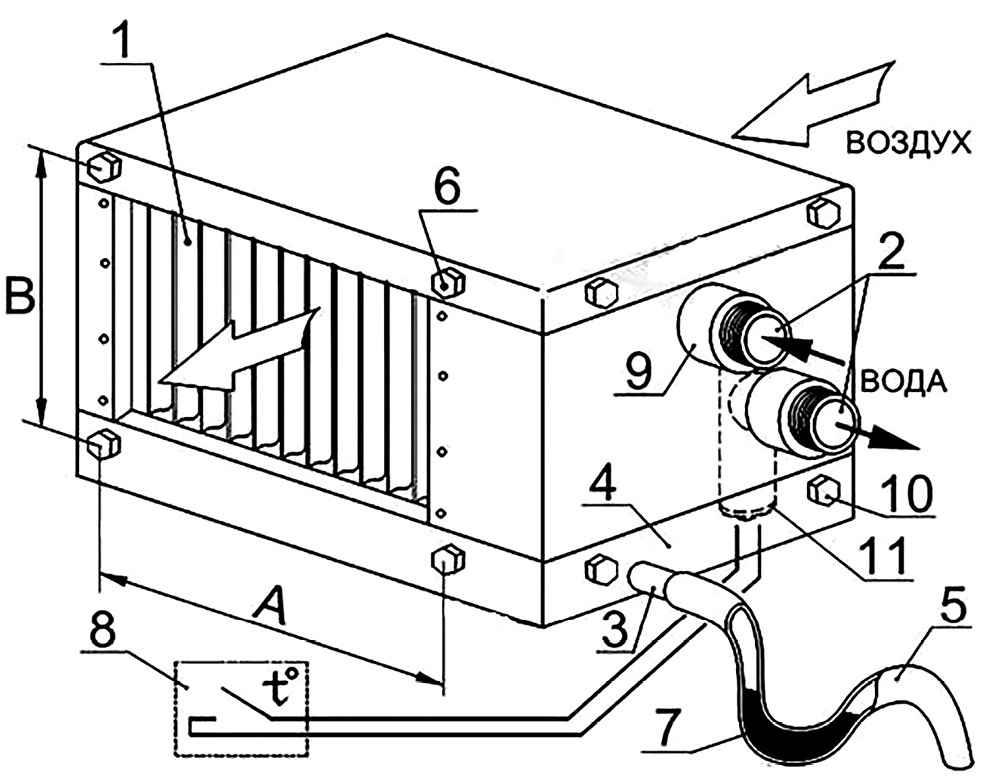
Рис. 3. Теплообменный аппарат водяного охлаждения с каплеуловителем: 1 — пластиковая лопатка каплеуловителя; 2 — патрубки водяных коллекторов; 3 — патрубок слива конденсата; 4 — поддон; 5 — сливной шланг дренажной системы; 6 — монтажный болт (по 4 шт с каждой стороны); 7 — участок засифонирования сливного шланга; 8 — датчик температуры воды; 9 — теплоизоляционное уплотнение; 10 — болты крепления поддона; 11 — заглушка коллектора.
Fig. 3. Water-cooled heat exchanger with a drop catcher: 1 — plastic drop catcher blade; 2 — pipes of water collectors; 3 — condensate drain pipe; 4 — pallet; 5 — drain hose of the drainage system; 6 — mounting bolt (4 pcs on each side); 7 — section for siphoning the drain hose; 8 — water temperature sensor; 9 — heat-insulating seal; 10 — pallet mounting bolts; 11 — collector plug.
Существуют модели водяных охладителей, имеющие в своей комплектации вентилятор, который предназначен для удаления нагретого воздуха, а также для подмешивания холодного воздуха внутри машины. Эффективность такого водяного охладителя с вентилятором намного выше, чем у установки, не имеющей его. Существенным минусом такого оборудования является то, что его применение может быть невозможно в связи с некоторыми конструктивными особенностями охлаждаемого механизма.
Для подбора теплообменных аппаратов на ледовой арене была использована программа ППВО (программа подбора вентиляционного оборудования), в которой мы имеем возможность структурировать необходимое нам оборудование, а после указания параметров для расчета на выходе получаем его характеристики.
В качестве примера осуществим подбор одного водяного охладителя с каплеуловителем.
Для получения результата, необходимо собрать данные, которые будут влиять на правильность расчёта. Существуют необходимые данные, такие как температуры воздуха входящего/выходящего из охладителя, температуры хладоносителя, на входе и выходе, важным параметром будет являться влажность воздуха (принимается по климатическому расположению установки), соответствующий расход воздуха, проходящий через данный воздухоохладитель, и конечно же сам тип хладоносителя. При подборе аппарата учитывается также ряд дополнительных параметров, таких как габариты получившегося воздухоохладителя, т.к. ключевым в его работе будет скорость воздуха в живом сечении аппарата, которая должна быть в диапазоне 3 м/с., в противном случае работа воздухоохладителя будет невозможной. Также требуется обратить внимание на воздушное сопротивление подобранного агрегата, как в исследуемом случае, где необходимо его установить в уже существующую систему вентиляции. Напор воздуха вентиляционной установки должен преодолеть вновь установленное сопротивление, и дойти до конечной точки вентиляционного канала / воздухораспределителя. При внесении изменения в состав вентиляционной системы, требуется уделить внимание системе автоматики, в которой должно быть заложено, либо перепрограммировано на сбор информации от датчика температуры, который в свою очередь даст команду контролеру, о включении / отключении холодильной установки, либо клапану / вентилю охлаждаемого контура, который будет регулировать наполняемость хладононосителем подобранный агрегат.
Данные для расчета оборудования:
- температура воздуха на входе 30°С;
- температура воздуха на выходе 16°С;
- пропиленгликоль;
- температура охлаждающей жидкости на входе 0°С;
- температура охлаждающей жидкости на выходе 5°С;
- поток воздуха 6900 м3/ч.
Процесс подбора необходимого оборудования по программе представлен на скриншотах (рис. 4 и 5).
Рис. 4. Процесс подбора теплообменного аппарата по программе ППВО.
Fig. 4. Process of selecting a heat exchanger according to the VESS program.
В данной программе вносятся необходимые данные, по которым программа подбирает оптимальный воздухоохладитель для этих условий.
Результат расчет установки представлен на рис. 5.
Рис. 5. Результат расчета теплообменного аппарата по программе ППВО.
Fig. 5. Calculation results of the heat exchanger according to the VESS program.
В полученном результате мы можем увидеть полную расшифровку подобранного агрегата, со своими характеристиками, размерами и данными. В данной схеме указаны также другие элементы вент системы, т.к. сам по себе он работать конечно же не может, все эти компоненты в существующей системы уже присутствуют.
Выводы
В статье представлена краткая информация по проблемам с влажностью воздуха на ледовой арене, которая приводит к коррозии, туману и другим последствиям. Для решения вопроса представлены варианты, из которых выбирается наиболее подходящий под требования ледовой арены. В данном случае используется метод ассимиляции, то есть внедрение воздухоохладителя с каплеуловителем. В статье разобран алгоритм работы с необходимой для этого программой ППВО с привязкой данной программы к действующей установке.
Подбор и установка предложенного в статье оборудования на ледовой арене «Шайба» позволило добиться снижения влажности с 65% до 49%, что соответствует нормативным документам и позволяет функционировать арене без образования тумана.
ДОПОЛНИТЕЛЬНО
Вклад авторов. Все авторы внесли существенный вклад в разработку концепции и подготовку статьи, прочли и одобрили финальную версию перед публикацией.
Конфликт интересов. Авторы заявляют об отсутствии конфликта интересов, связанного с подготовкой и публикацией статьи.
Источник финансирования. Авторы заявляют об отсутствии внешнего финансирования при проведении исследования и подготовке публикации.
ADDITIONAL INFORMATION
Authors’ contributions. All authors made a substantial contribution to the conceptual development and preparation of this article and read and approved the final version before publication.
Competing interests. The authors declare that they have no competing interests.
Funding source. This study was not supported by external sources of funding.
About the authors
Evgeniy N. Neverov
Kemerovo State University
Email: neverov42@mail.ru
ORCID iD: 0000-0002-3542-786X
SPIN-code: 7351-6740
Dr. Sci. (Tech.), Professor
Russian Federation, 6 Krasnaya street, 650000 KemerovoIgor' A. Korotkiy
Kemerovo State University
Email: krot69@mail.ru
ORCID iD: 0000-0002-7623-0940
SPIN-code: 5115-0349
Dr. Sci. (Tech.), Professor
Russian Federation, 6 Krasnaya street, 650000 KemerovoAnton A. Kozaev
Innovator LLC
Email: kogaa42region@mail.ru
ORCID iD: 0000-0003-4120-8820
Director of Innovator LLC
Russian Federation, KemerovoPavel S. Korotkih
Kemerovo State University
Author for correspondence.
Email: korotkix42@gmail.com
ORCID iD: 0000-0002-4546-0276
SPIN-code: 5435-5990
Senior Lecturer
Russian Federation, 6 Krasnaya street, 650000 KemerovoAleksey A. Gushin
Kemerovo State University
Email: guschinaa@suek.ru
ORCID iD: 0009-0009-0958-1562
SPIN-code: 1635-8403
Cand. Sci. (Tech.), Assistant Professor
Russian Federation, 6 Krasnaya street, 650000 KemerovoReferences
- Patent RUS № 2563753 / 20.09.2015. Byul. № 26. Saidzhanov EA, Malova ND. Sposob okhlazhdeniya vozdukha v pomeshcheniyakh s povyshennoy i ponizhennoy vlazhnostyu vozdukha. (In Russ). [cited: 09.06.2022] Available from: https://www.elibrary.ru/download/elibrary_37438085_26667306.pdf EDN: QDQPBG
- Patent RUS № 201714 / 29.12.2020. Byul. № 1. Kaminskiy M.G. Kanalnyy uvlazhnitel vozdukha s regulirovkoy temperatury i vlazhnosti vozdukha. (In Russ). [cited: 09.06.2022] Available from: https://www.elibrary.ru/download/elibrary_44698477_91150185.PDF EDN: RKXLNP
- Rusakov SV. Otsenka vliyaniya vlazhnosti vozdukha na kachestvo mikroklimata v zale ledovogo katka i na sostoyanie ledovoy poverkhnosti. Nauchnyy zhurnal NIU ITMO. Seriya: Kholodilnaya tekhnika i konditsionirovanie. 2015;2:92–101. (In Russ). EDN: TXNEHN
- Makeeva KhV. Mikroklimat ledovykh aren. Alleya nauki. 2019;3:283–287. EDN: WIZWEB
- Savelyev YuL. Optimizatsiya sistem konditsionirovaniya malykh ledovykh aren. Santekhnika, otoplenie, konditsionirovanie. 2014;6:72–79. (In Russ). EDN: TWKDMX
- Davydov MV, Belous PA. Avtomatizirovannoe ustroystvo dlya otsenki kachestva poverkhnosti lda. Doklady BGUIR. 2020;18(1):21–28. (In Russ). EDN: OSQQBB doi: 10.35596/1729-7648-2020-18-1-21-28
- Goleshov DI, Neverov EN, Kozhaev AA. Problema povyshennoy vlazhnosti na ledovoy arene i puti ee resheniya. In: Kholodilnaya tekhnika i biotekhnologii. Sbornik tezisov II natsionalnoy konferentsii studentov, aspirantov i molodykh uchenykh. Kholodilnaya tekhnika i biotekhnologii. Kemerovo: Kemerovskiy gosudarstvennyy universitet; 2020:10–13. (In Russ). EDN: VOBJJF
- Denisikhina DM, Rusakov SV. Izmenenie parametrov mikroklimata v techenie khokkeynogo matcha v zale krytoy ledovoy areny. AVOK: ventilyatsiya, otoplenie, konditsionirovanie vozdukha, teplosnabzhenie i stroitelnaya teplofizika. 2019;6:26–37. (In Russ). EDN: PVZUVI
- Chuykin SV. Osobennosti obespecheniya mikroklimata krytykh ledovykh aren. SOK. 2021;3:59–61. (In Russ). EDN: DMMFWB
- Bryuzgin S. Mikroklimat ledovykh aren. SBK. Sport Biznes Konsalting. 2018;3:20–22. (In Russ).
Supplementary files








