laterAnalysis of the energy efficiency of an environmental control system of a passenger aircraft by using the entropy-statistical method
- Authors: Tishchenko I.V.1,2, Abalakin S.A.2, Merkulov V.I.1,2, Zharov A.A.1, Borisenko A.V.1
 - 
							Affiliations: 
							
- Bauman Moscow State Technical University
 - RPA “Nauka”
 
 - Issue: Vol 110, No 4 (2021)
 - Pages: 215-224
 - Section: Original Study Articles
 - URL: https://freezetech.ru/0023-124X/article/view/551956
 - DOI: https://doi.org/10.17816/RF551956
 - ID: 551956
 
Cite item
Abstract
BACKGROUND: Aviation designers are striving to increase fuel efficiency of aircraft, including by increasing the efficiency of aircraft environmental control systems by reducing losses in its components.
AIM: This study performs an entropy-statistical analysis of the environmental control system of a passenger aircraft assesses efficiency losses in the units included in it.
MATERIALS AND METHODS: A static mathematical model of an environmental control system with moisture content control was developed to calculate the system parameters in various operating modes, for which an entropy-statistical analysis was performed.
RESULTS: Using entropy-statistical analysis, the main units of the system were examined, their influence on the overall efficiency of the environmental control system was assessed, and the advantages of the given method of entropy-statistical analysis for such systems were outlined. The mathematical model was developed using the Matlab Simulink software package.
CONCLUSIONS: A static mathematical model of an environmental control system with a three-wheel air cycle machine unit and a “loop” high-pressure dehumidification system was developed. An entropy-statistical analysis of the system was performed. The influence of the units included in the system on the efficiency of the system as a whole was assessed.
Full Text
Условные обозначения
P - давление (кПа)
Rв - газовая постоянна для воздуха (287 Дж×кг-1×K-1)
T - температура (K)
k - оказатель адиабаты для воздуха (1,41)
i - Энтальпия (Дж×кг-1)
S - Энтропия (Дж×кг–1×K-1)
G - Расход воздуха (кг×с-1)
η - КПД узла
ОБОСНОВАНИЕ
В современной авиации невозможно представить себе пассажирские самолеты без современной системы кондиционирования воздуха (СКВ). Данные системы решают различные задачи в области жизнеобеспечения и комфортного существования человека во время полета самолета. Параметры окружающей среды при эксплуатации самолета меняются в широком диапазоне. СКВ предназначена для регулирования таких параметров воздуха как температура, давление, расход, влагосодержание. На различных режимах полета она может работать как в режиме охлаждения, так и в режиме обогрева. При проектировании СКВ необходимо соблюдать следующие требования к ним: массогабаритные показатели, надежность, эффективность. Эти параметры существенно влияют на итоговую стоимость СКВ, затраты на ее обслуживание, эксплуатацию.
Существует большое количество возможных вариантов схемных решений СКВ. В данной статье анализируется схема с трехколесным турбохолодильным агрегатом (турбохолодильником) с петлевым влагоотделением на высоком давлении. Влага имеет большое влияние на эффективность работы СКВ [1]. Но, помимо этого, она так же влияет на конструктивные особенности и варианты режимов работы СКВ. Наличие влаги при работе СКВ на отрицательных температурах приводит к ухудшению эффективности теплообменных аппаратов вследствие их обмерзания, что вынуждает вводить дополнительные агрегаты для решения этой проблемы, а также ограничивает диапазон рабочих режимов. Схема СКВ с петлей влагоотделения на высоком давлении является одним из вариантов борьбы с негативным влиянием влаги на СКВ. Ниже приведено описание математической модели подобной схемы для пассажирского самолета. Математические модели часто применяют для холодильных и криогенных систем [2, 3]. Рассматриваемая в настоящей работе модель позволяет проводить статический расчет СКВ на всех эксплуатационных режимах. На основе этой модели был проведен энтропийно-статистический анализ системы на выбранном режиме полета самолета. Данный метод был разработан в МГТУ им. Н.Э.Баумана [4]. На основе указанного метода активно проводят анализы различных криогенных систем [5–7]. Энтропийно-статистический метод анализа системы позволяет определить влияние эффективности отдельных агрегатов из состава СКВ на эффективность СКВ в целом.
ЦЕЛЬ РАБОТЫ
Основной целью настоящей статьи является выполнение энтропийно-статистического анализа системы кондиционирования воздуха пассажирского самолета для оценки потерь эффективности в агрегатах, входящих в нее.
ОПИСАНИЕ РАБОТЫ СИСТЕМЫ
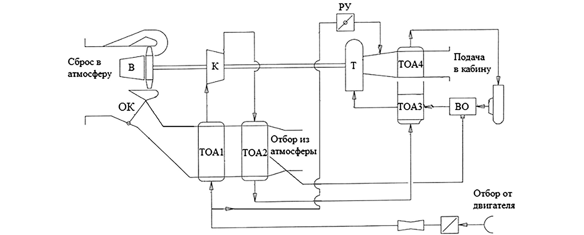
СКВ пассажирского самолета — это система, предназначенная для регулирования температуры, расхода и влагосодержания воздуха, подаваемого в самолет. В данной статье рассматривается работа СКВ с трехколёсным турбохолодильным агрегатом (турбохолодильником) и петлевой схемой влагоотделения на высоком давлении. Схема СКВ, анализ которой проводится в статье, представлена на рис. 1.
Рис. 1. Схема СКВ. В — ступень вентилятора турбохолодильника; ВО — влагоотделитель; К — компрессорная ступень турбохолодильника; ОК –— обратный клапан; РУ — регулирующее устройство для перепуска рабочего воздуха; Т — детандерная ступень турбохолодильника; ТОА 1 — первичный теплообменный аппарат; ТОА 2 — Вторичный теплообменный аппарат; ТОА 3 — перегреватель; ТОА 4 — конденсатор.
Fig. 1. ACS scheme. V — air cycle machine fan stage; VO — water collector; K — compressor stage of the air cycle machine; OK — check valve; RU — control device for bypassing working air; T — expander stage of the air cycle machine; TOA 1 — primary heat exchanger; TOA 2 — secondary heat exchanger; TOA 3 — reheater; ТОА 4 — condenser.
Источником сжатого воздуха в СКВ является компрессор газотурбинного двигателя (ГТД) самолета.
По рабочему тракту воздух поступает в первичный теплообменный аппарат (ТОА1), где происходит его охлаждение забортным воздухом. Пройдя его, рабочий воздух поступает в компрессорную ступень турбохолодильника (К), где происходит его дополнительное сжатие для улучшения, в последствии, отделения влаги. После этого, воздух поступает во вторичные теплообменный аппарат (ТОА2), где так же происходит теплообмен с забортным воздухом. Продувка первичного и вторичного теплообменных аппаратов (ТОА1 и ТОА2) обеспечивается за счет работы ступени вентилятора (В) турбохолодильника или набегающим потоком воздуха.
Далее воздух поступает в так называемую «петлю», состоящую из двух теплообменных аппаратов (ТОА3 и ТОА4), детандерной ступени турбохолодильника (Т) и влагоотделителя (ВО). В данной «петле» охлаждение рабочего воздуха по горячему тракту происходит за счет того же потока воздуха, после его охлаждения в детандерной ступени турбохолодильника. Рабочий воздух поступает в перегреватель (ТОА3), а затем в конденсатор (ТОА4). В данных теплообменных аппаратах происходит конденсация влаги, которая затем отделяется во влагоотделителе (ВО).
Дабы избежать попадания оставшейся влаги в ступень детандера, а также предотвратить преждевременную конденсацию последней, рабочий воздух поступает в перегреватель по холодному тракту, где подогревается, обеспечивая отвод теплоты от горячего тракта, и поступает в детандерную ступень (Т) турбохолодильного агрегата. В детандерной ступени (Т) происходит расширение и охлаждение рабочего потока воздуха, а совершаемая им при этом работа по валу турбохолодильного агрегата передается на компрессорную ступень (К) и ступень вентилятора (В). После этого основная часть потока воздуха поступает по холодному тракту в конденсатор (ТОА4) обеспечивая тем самым отвод теплоты от горячего тракта. Отведённая влага во влагоотделителе (ВО) поступает на впрыск в продувочный тракт вторичного теплообменника СКВ, увеличивая тем самым эффективность охлаждения в первичном и вторичном теплообмен- никах (ТОА1 и ТОА2).
Система кондиционирования воздуха может работать в двух режимах: охлаждения и обогрева. В режиме обогрева происходит регулирование температуры воздуха на выходе путем отвода горячего потока через регулирующее устройство (РУ) и подачи его на смешивание с потоком, выходящим из детандерной ступени (Т) турбохолодильного агрегата.К преимуществам данной схемы можно отнести небольшое количество агрегатов, необходимых для создания «петли», простоту, надежность, высокую технологичность агрегатов «петли», а так же применения в качестве хладагента в петле рабочего воздуха.
ОПИСАНИЕ МАТЕМАТИЧЕСКОЙ МОДЕЛИ
Для анализа работы СКВ была разработана математическая модель системы в среде Matlab Simulink. В модели производится термодинамический расчет системы. Аналогичные расчеты систем и агрегатов проводились в работах [8–10]. Модель рассчитывает параметры узловых точек СКВ и некоторых параметров её узлов, в частности. Применение данной среды было обусловлено возможностью легкой замены составляющих агрегатов СКВ и тем самым унификации модели под аналогичные схемы. В данной схеме используются математические модели аппаратов с учетом характеристик работы их реальных аналогов. В модели использован метод последовательных итераций для расчета всей схемы в целом. Указанная модель учитывает влияние фазового перехода влаги на температуру рабочего воздуха (в частности, в ней учтено влияние фазового перехода при впрыске влаги в продувочный контур вторичного теплообменного аппарата, в иных теплообменных аппаратах в рабочем тракте и ступени детандера). Работа модели разделена на два блока. Блок № 1 рассчитывает работу первичного и вторичного теплообменных аппаратов, ступень компрессора, а также продувочный контур со ступенью вентилятора. Блок № 2 рассчитывает работу «петли» системы, включающей в себя перегреватель, конденсатор, влагоотделитель и ступень турбины. Каждый блок имеет свои итерационные параметры. Блок № 1 последовательно рассчитывает параметры основных узловых точек и подбирает расход продувочного воздуха. Блок № 2 определяет параметры узловых точек, количество отведенной влаги и мощность, отведённую от детандерной ступени турбохолодильника.
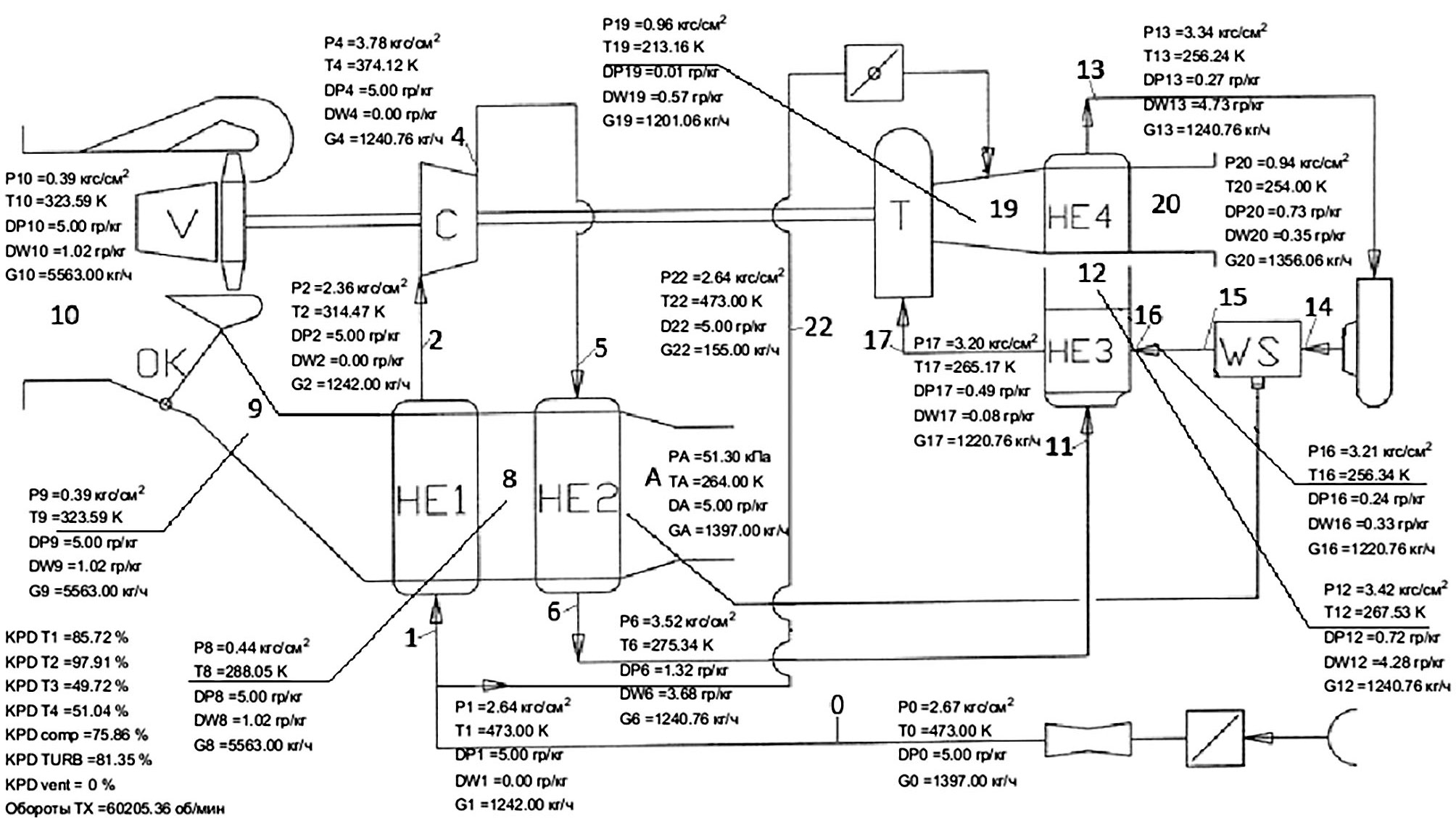
Рис. 2. Расчетная схема с точками.
Fig. 2. Design diagram with points.
Координация работы этих двух блоков идет так же через подбор параметров (входное давление, частота вращения вала турбохолодильного агрегата, регулировка обвода воздуха, если СКВ работает на режиме обогрева). Таким образом, расчет всей системы на каком-либо режиме происходит за счет множества последовательных итераций. В результате расчета математическая модель выдает параметры в каждой их своих точек, которые в дальнейшем и будут использованы для анализа работы всей системы в целом. Пример рассчитанной схемы приведён на рис. 2.
АНАЛИЗ РАБОТЫ СИСТЕМЫ
При разработке и производстве СКВ важно иметь подробное представление о работе такой системы. Для каждой СКВ необходимо проводить свой термодинамический расчет и анализ работы такой системы. В большинстве случаев эффективность работы СКВ анализируют по её энергопотреблению (а точнее, в основном по потреблению горячего воздуха). В МГТУ им. Н.Э. Баумана активно используется метод энтропийно-статистического анализа, с помощью которого можно подробно проанализировать работу СКВ на режимах охлаждения. Данный метод позволяет определить узлы, потери в которых имеют наибольшее влияние на эффективность СКВ, а также позволяет оценить перспективу улучшения этих узлов. В данной статье этот метод применен для анализа наземного режима охлаждения самолета, как наиболее нагруженного для СКВ. Методика расчета взята на основе работы [4]. Результаты расчета наземного режима СКВ по математической модели представлены в таблице 1.
Таблица 1. Расчетные параметры СКВ
Table 1. Calculated Parameters of ECS
№  | Давление, кПа  | Температура, К  | Расход, кг/ч  | Влагосодержание в виде пара, г/кг сух. возд.  | Влагосодержание в виде капель, г/кг сух. возд.  | Энтальпия, кДж/кг  | Энтропия, кДж/кг*К  | 
Параметры Атмосферы  | |||||||
А  | 101,301  | 310  | 1185  | 18  | -  | 310,303  | 6,898  | 
Линия рабочего потока  | |||||||
0  | 304,65  | 473  | 1185  | 18  | 0  | 475,463  | 7,010  | 
1  | 302,425  | 473  | 1185  | 18  | 0  | 475,465  | 7,012  | 
2  | 280,602  | 378,994  | 1185  | 18  | 0  | 379,681  | 6,808  | 
4  | 375,503  | 424,192  | 1183,8  | 18  | 0  | 425,504  | 6,838  | 
6  | 348,652  | 314,583  | 1183,8  | 14,764  | 3,236  | 314,413  | 6,557  | 
12  | 338,705  | 311,004  | 1183,8  | 12,522  | 5,478  | 310,818  | 6,553  | 
13  | 329,388  | 298,716  | 1183,8  | 6,351  | 11,658  | 298,425  | 6,521  | 
16  | 316,235  | 299,136  | 1163,8  | 6,931  | 0,816  | 298,88  | 6,534  | 
17  | 315,514  | 305,103  | 1163,8  | 7,681  | 0,066  | 304,907  | 6,554  | 
19  | 103,193  | 256,906  | 1144,1  | 0,916  | 6,832  | 256,887  | 6,704  | 
20  | 101,301  | 275,423  | 1144,1  | 4,516  | 3,232  | 275,513  | 6,779  | 
Продувочная линия  | |||||||
7  | 101,301  | 299,561  | 2788  | 22,45  | 0  | 299,796  | 6,864  | 
8  | 99,639  | 348,887  | 2788  | 22,45  | 0  | 349,498  | 7,022  | 
9  | 98,791  | 389,104  | 2788  | 22,45  | 0  | 390,154  | 7,135  | 
10  | 101,3  | 396,283  | 2788  | 22,45  | 0  | 397,425  | 7,146  | 
Расчёт показателей цикла по рабочему тракту осуществлялся по следующим формулам:
Удельная холодопроизводительность цикла:
qц = = 42,189 ;
Минимальная удельная работа цикла:
lmin = qц = 9,512 ;
Реальная удельная работа двигателя:
lреал = · RB · TA = 160,881;
Действительное значение холодильного коэффициента
ε = = 0,262.
Удельные работы, необходимые для компенсации производства энтропий:
- для двигателя
 
R · TA · · = 45,419;
- для первичного теплообменного аппарата
 
= 18,923;
- для вторичного теплообменного аппарата
 
= 28,268;
- для компрессора
 
= 12,306 ;
- для влагоотделителя
 
= 4,021;
- для учета теплообмена с окружающей средой
 
= 2,025 ;
- для перегревателя
 
= 7,261 ;
- для конденсатора
 
= 12,341 ;
- для детандера
 
= 17,659;
- для учёта гидравлических потерь в трубопроводе перед первичным теплообменным аппаратом
 
= 0,654;
Суммарная работа цикла
,
158,388 .
Погрешность расчета
= 1,25%
Рабочий цикл представлен на T-S диаграмме на рис. 3, а соотношение работ для компенсации прироста энтропии на рис. 4.
Рис. 3. Рабочий цикл в T-S диаграмме.
Fig. 3. Duty cycle in the T–S diagram.
Рис. 4. Соотношение работ для компенсации прироста энтропии по узлам.
Fig. 4. Ratio of work required to compensate for the increase in entropy across units.
ВЫВОДЫ
В результате настоящего исследования была разработана статическая математическая модель СКВ с трёхколесным турбохолодильным агрегатом и «петлевой» системой влагоотделения на высоком давлении. Данная модель позволяет быстро проводить расчеты системы на различных режимах полета, что упрощает разработку такой системы. По разработанной математической модели был проведен энтропийно-статистический анализ наземного режима, как наиболее нагруженного режима работы СКВ, и на его основе была проведена оценка влияния различных узлов на эффективность системы в целом. Результаты проведенного анализа показывают, что наибольшие значения удельной работы для компенсации производства энтропии получены в компрессоре двигателя, первичном и вторичном теплообменниках, детандерной ступени турбохолодильника.
ДОПОЛНИТЕЛЬНО
Вклад авторов. Все авторы внесли существенный вклад в разработку концепции и подготовку статьи, прочли и одобрили финальную версию перед публикацией.
Конфликт интересов. Авторы заявляют об отсутствии конфликта интересов, связанного с подготовкой и публикацией статьи.
Источник финансирования. Авторы заявляют об отсутствии внешнего финансирования при проведении исследования и подготовке публикации.
ADDITIONAL INFORMATION
Authors’ contributions. All authors made a substantial contribution to the conceptual development and preparation of this article and read and approved the final version before publication.
Competing interests. The authors declare that they have no competing interests.
Funding source. This study was not supported by external sources of funding.
About the authors
Igor V. Tishchenko
Bauman Moscow State Technical University; RPA “Nauka”
														Email: iv.tischenko@bmstu.ru
				                	ORCID iD: 0000-0001-6094-8723
				                	SPIN-code: 5630-4301
																		                								
Cand. Sci. (Engineering), Associate Professor
Russian Federation, 1 Lefortovskaya Naberezhnaya, 105005 Moscow; 3rd st. Yamsky field, pos. 2 125124 MoscowSergey A. Abalakin
RPA “Nauka”
														Email: sserviuss@gmail.com
				                	ORCID iD: 0009-0001-9193-1147
				                	SPIN-code: 7580-9545
																		                								
Cand. Sci. (Engineering)
Russian Federation, 3rd st. Yamsky field, pos. 2 125124 MoscowVladislav I. Merkulov
Bauman Moscow State Technical University; RPA “Nauka”
														Email: merkulov@bmstu.ru
				                	ORCID iD: 0000-0002-3455-3709
				                	SPIN-code: 8409-8754
																		                								
Dr. Sci. (Engineering), Professor
Russian Federation, 1 Lefortovskaya Naberezhnaya, 105005 Moscow; 3rd st. Yamsky field, pos. 2 125124 MoscowAnton A. Zharov
Bauman Moscow State Technical University
														Email: zharov_a@bmstu.ru
				                	ORCID iD: 0000-0001-9945-0850
				                	SPIN-code: 8581-1809
																		                								
Cand. Sci. (Engineering)
Russian Federation, 2nd Baumanskaya st., 5, 105005 MoscowArtem V. Borisenko
Bauman Moscow State Technical University
							Author for correspondence.
							Email: borart@bmstu.ru
				                	ORCID iD: 0000-0002-4818-3702
				                	SPIN-code: 2859-5006
																		                								
Cand. Sci. (Engineering)
Russian Federation, 2nd Baumanskaya st., 5, 105005 MoscowReferences
- Antonova NV, Dubrovin LD, Egorov EE, et al. Design of aviation air conditioning systems. Moscow: Mashinostroenie; 2006. (In Russ.)
 - Strizhenov EM, Chugaev SS, Zherdev AA. Mathematical Model of The Process of Circuit Charging of an Adsorption Methane Storage System. Chemical and Petroleum Engineering. 2019;54(9–10):760–770. doi: 10.1007/s10556-019-00545-5
 - Navasardyan ES, Antonov EA, Arkharov IA, et al. Modeling of Processes in Microcryogenic Gas Cooler. Chemical and Petroleum Engineering. 2016;51(9):649–655. doi: 10.1007/s10556-016-0101-0
 - Arkharov AM. Fundamentals of cryology. Entropy-statistical analysis of low-temperature systems. Moscow: MGTU im NE Baumana; 2014. (In Russ.)
 - Arkharov AM, Semenov VY, Krasnonosova SD. An Entropy-Statistical Analysis of a Natural Gas Liquefaction Plant with External Nitrogen Cooling Cycle. Chemical and Petroleum Engineering. 2016;51(11–12):725–735. doi: 10.1007/s10556-016-0113-9
 - Arkharov AM, Semenov VY, Krasnonosova SD. Methodology of Statistical Entrophy Analysis of Small-Scale Natural Gas Liquefiers. Chemical and Petroleum Engineering. 2016;51(9):665–673. doi: 10.1007/s10556-016-0103-y
 - Gareeva DT, Lavrov NA. Entropy Production and Energy Loss During Mixing of Gases. Chemical and Petroleum Engineering. 2016; 51(11–12):759–764. doi: 10.1007/s10556-016-0118-4
 - Tishchenko IV, Zharov AA, Nikolaev VS, et al. Mathematical modeling of plate-fin heat exchanger in aircraft environmental control system. AIP Conference Proceedings. 2019;2195:020074 doi: 10.1063/1.5140174
 - Zharov AA, Leonov VP, Tishchenko IV, et al. Designing a turbomachine of environmental control system for missile-carrier aircraft of air launch systems. AIP Conference Proceedings. 2019;2171:030012. doi: 10.1063/1.5133178
 - Merkulov VI, Tishchenko IV, Abalakin SA. Entropy-statistical analysis of the air conditioning cycle of an aircraft. Izvestiya MGTU MAMI. 2020;14(3):29–35. doi: 10.31992/2074-0530-2020-45-3-29-35
 
Supplementary files
				
			
					
						
						
									






