Design and operating principle of a mechanical device for signaling refrigerating leakage from the compressor system of a working household refrigerator
- Authors: Demin M.V.1, Bryushkov R.V.2, Levkina V.E.2
-
Affiliations:
- Federal State Budgetary Educational Institution of Higher Education “Donetsk National University of Economics and Trade named after Mikhail Tugan-Barnovsky”
- Krasnodar Branch of the Federal State Budgetary Educational Institution of Higher Education Plekhanov Russian University of Economics
- Issue: Vol 112, No 2 (2023)
- Pages: 59-65
- Section: Reviews
- URL: https://freezetech.ru/0023-124X/article/view/626116
- DOI: https://doi.org/10.17816/RF626116
- ID: 626116
Cite item
Abstract
The root cause of refrigerant leaking from a household refrigerator’s compressor system can be traced to micro- and macro-damage within the sealed system. To determine and prevent further leakage, it is necessary to equip the refrigerator with an alarm device featuring a thermal balloon on the exterior of the freezer evaporator. This innovative device is designed to react solely to any drop in temperature across the surface of the freezer evaporator below its nominal value. For this purpose, the thermal energy indicators of a household refrigerator, considering variable ambient temperatures and the required refueling dose of the compressor system, were determined. This device does not replace an existing one; rather, it serves as a complement by interrupting the electrical circuit to the start-up relay; thereby, disconnecting the compressor from the power supply and alerting users to a potential refrigerant leak in the compressor system. This device can be implemented in compressor systems utilizing any type of refrigerant.
Full Text
ВВЕДЕНИЕ
В процессе изготовления, эксплуатации, и транспортировки, возможны повреждения трубопроводов, и мест их соединения, а также механические повреждения испарителя и конденсатора бытового холодильника, что влечёт за собой образование микротрещин, макроповреждений, и, как следствие, разгерметизацию компрессорной системы, влекущей утечку холодильного агента из его системы.
По ранее проведённым исследованиям были установлены теплоэнергетические показатели работающего бытового холодильного прибора при изменяемых значениях температуры окружающей среды, при разных параметрах заправки его герметичной, компрессорной системы [1, 2]. Как было показано, изменения работы бытового холодильника в сторону понижения температуры на поверхности испарителя морозильной камеры от стандартных параметров, установленных в стандарте EN ISO 15502:2009 «Холодильные приборы бытового назначения. Характеристики и методы испытания», может являться показателем разгерметизации компрессорной системы, повлекшей утечку холодильного агента из его системы.
Понижение температуры на поверхности испарителя на 1,0…1,5°С по сравнению с паспортной величиной может быть сигналом об утечке хладагента из компрессорной системы бытового холодильника на любом ее участке — как в линии нагнетания, так и в линии всасывания. По данным исследований [3, 4], масса утечки изобутана, обусловливающая указанное выше понижение температуры на поверхности испарителя, выделяясь в течение времени, исчисляемое даже часами, не создает в атмосферном воздухе взрывоопасную концентрацию.
При работе холодильной машины бытового холодильника нет иных причин снижения температуры кипения хладагента и, как следствие, температуры на наружной поверхности испарителя в морозильной камере, кроме уменьшения массы хладагента, в результате его утечки.
Обобщая вышеизложенное, делаем заключение: для реализации предлагаемого способа по определению утечки холодильного агента, термобаллончик устройства должен быть размещен на наружной поверхности испарителя, в морозильной камере, термоизолирован и настроен на срабатывание при температуре на 1,0…1,5°С ниже паспортной величины.
РАЗДЕЛ 1
Контроль температуры на других участках компрессорной системы бытового холодильника не обеспечивает достижение поставленной цели: в части испарителя, находящегося в холодильной камере, возможно только докипание хладагента, в линии нагнетания температура хладагента колеблется в связи с цикличностью работы холодильника и зависит, при прочих равных условиях, от эффективности охлаждения конденсатора.
Предлагаемый способ [5], и конструкция устройства, отличается простотой осуществления, позволяет использовать известные в малой холодильной технике средства регистрации температуры и устройства, реагирующие на ее изменение, обеспечивает техническую и экологическую безопасность бытовых холодильников, работающих на углеводородах.
Для реализации предлагаемого способа в конструкции холодильника необходимо наличие компактного малогабаритного устройства, отключающего компрессор от электросети при понижении температуры кипения хладагента в испарителе, и, как следствие, температуры на поверхности испарителя морозильной камеры. В связи с этим отметим следующее.
При заданной дозе заправки хладагента в компрессорной системе и отсутствии его утечки температура на поверхности испарителя не может быть меньше паспортной величины ни при каких обстоятельствах, возможно только ее повышение в связи с подтеплением отключенного от электросети холодильника. Температуру на этом участке холодильной машины можно контролировать с помощью термореле, аналогичного тому, которое используется в холодильной камере холодильника для управления работой пускозащитного реле компрессора. Термореле включает в себя термобаллончик, в котором, в процессе изменения температуры на поверхности испарителя морозильной камеры повышается, или понижается давление, и как следствие происходит увеличение, или уменьшение объёма содержащегося в герметичном контуре газа. При увеличении / уменьшении объёма газа, в размере увеличивается / уменьшается длина трубки сильфона, которая механически воздействует на жестко соединенный с ним подвижный стержень с контактной группой, замыкающей / размыкающей при его движении в диаметрально противоположных направлениях электрическую цепь пускозащитного реле компрессора.
Данное устройство, которое принято в качестве прототипа, работает следующим образом. При повышении температуры в холодильной камере давление в термобаллончике повышается. При повышении давления газ расширяясь, увеличивая в размере длину трубки сильфона, которая механически воздействует на стержень с контактной группой. Стержень перемещается и происходит замыкание цепи пускозащитного реле — компрессор включается в работу, при понижении температуры до уставочной величины давление в термобаллончике уменьшается, вследствие чего уменьшается объём газа, сокращая при этом длину трубки сильфона. Трубка сильфона жёстко связана со стержнем. С контактной группой стержень перемещается в диаметрально противоположенном направлении и происходит размыкание цепи пускозащитного реле — компрессор отключается от питающей цепи. Таким образом поддерживается уставочная температура в холодильной камере и обеспечивается цикличная работа компрессора холодильной машины.
Принципиальное отличие предлагаемого устройства от прототипа обусловлено его иным функциональным предназначением — реагировать только на понижение температуры на поверхности испарителя в морозильной камере по сравнению с ее паспортной величиной. По сути, предлагаемое устройство не заменяет прототип, а дополняет его: размыкает электрическую цепь пускозащитного реле, отключая от питающей сети компрессор, и, тем самым, сигнализирует об утечке хладагента из компрессорной системы бытового холодильника.
РАЗДЕЛ 2
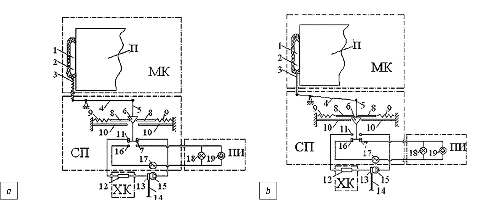
Рис. 1. Сигнализатор утечки хладагента из компрессорной системы: a — положение деталей при отсутствии утечек хладагента, b — положение деталей после срабатывания устройства вследствие утечки хладагента
Fig. 1. Refrigerant leak detector in the compressor system: a — position of parts in the absence of refrigerant leaks, b — the position of parts following device activation owing to a refrigerant leak
Принципиальная схема предлагаемого устройства, оповещателя об утечке хладагента из компрессорной системы, приведена на рис. 1: a — исходное положение деталей при работе бытового холодильника без утечек хладагента, b — положение деталей после срабатывания устройства вследствие утечки хладагента с подачей светового и звукового сигналов.
Сигнализатор утечки хладагента из компрессорной системы бытового холодильника имеет следующее устройство: 1 — термобаллончик, 2 — теплоизоляция, 3 — гибкая тяга, 4 — коромысло с разновеликими плечами, 5 — подвижный стержень, 6 — конусообразный упор, 7 — контактная группа на стержне, 8 — пластины, 9 — пружины, 10 — направляющие для пластин и пружин, 11 — контакты электрической цепи пускозащитного реле компрессора, 12 — термореле, 13 — пускозащитное реле, 14 — сетевой шнур, 15 — компрессор, 16 — нормально разомкнутые контакты автономной системы светозвуковой сигнализации, 17 — автономный источник питания, 18 — лампа световой сигнализации, 19 — звуковой сигнализатор, И – испаритель морозильной камеры, МК — морозильная камера, ХК — холодильная камера, СП — пространство под сервировочной плоскостью холодильного шкафа. Сервировочная плоскость расположена в верхней части бытового холодильника. Во внутреннем пространстве которой, располагаются устройства управления, и автоматики., ПИ — панель индикации на внешней поверхности холодильного шкафа.
Гибкая тяга 3 соединена одним концом с трубкой сильфона, которая герметично соединена с термобаллончиком, другим — с концом короткого плеча коромысла 4. Конец длинного плеча коромысла 4 шарнирно присоединен к подвижному стержню 5. Разновеликость плеч коромысла позволяет увеличить ход стержня 5.
Пластины 8, пружины 9, направляющая 10 для пластин и пружин в совокупности — фиксатор. Направляющие 10 обеспечивают жесткость системы пластины 8 — пружины 9.
Предлагаемое устройство работает следующим образом.
Сигнализатор настраивают на нормальную работу холодильника — без утечек хладагента таким образом, чтобы конусообразный упор 6 касался скошенной поверхностью пластин 8 и был направлен острием в сторону единственно возможного направления движения стержня 5. Термобаллончик 1 плотно закрепляют на поверхности испарителя И морозильной камеры МК и покрывают теплоизоляцией 2.
Полный ход подвижного стержня 5 с конусообразным упором 6 настраивают на определенное уменьшение длины трубки сильфона, герметично соединённым с термобаллончиком 1 и, следовательно, на определенную величину снижения температуры на поверхности испарителя И морозильной камеры МК, например на 1,0…1,5°С относительно паспортной величины.
При понижении температуры на поверхности испарителя и в морозильной камере МК бытового холодильника, что может быть обусловлено только утечкой хладагента из его компрессорной системы, линейные размеры трубки сильфона, герметично соединённого с термобаллончиком 1, имеющего теплоизоляцию 2, уменьшаются. При этом герметично соединенная трубка сильфона с термобаллончиком 1 гибкая тяга 3 воздействует на короткое плечо коромысла 4: происходит перемещение с большей амплитудой конца его длинного плеча и, следовательно, подвижного стержня 5 с конусообразным упором 6. Перемещение подвижного стержня 5 с контактной группой 7 приводит к размыканию нормально замкнутых контактов 11 в цепи пускозащитного реле 13 компрессора 15. При этом компрессор 15 останавливается, хотя контакты термореле 12 могут быть замкнуты из-за подтепления холодильной камеры ХК и по сетевому шнуру 14 подается напряжение на пускозащитное реле 13. При движении стержня 5 имеющийся на нем конусообразный упор 6 свободно проходит через зазор между пластинами 8, раздвигая их и сжимая при этом связанные с ними пружины 9 на направляющих 10. После прохождения конусообразного упора 6 пластины 8 смыкаются сжатыми пружинами 9 под его основанием, препятствуя обратному движению стержня 5 с контактной группой 7. Неподвижность конусообразного упора 6 и, следовательно, стержня 5 с контактной группой 7 обеспечивается жесткостью направляющих 10 для пластин 8 и пружин 9. Наличие гибкой тяги 3 между трубкой сильфона герметично соединённой с термобаллончиком 1 и коромыслом 4 исключает какие-либо перемещения последнего при увеличении геометрических размеров трубки сильфона вследствие подтепления холодильника после его аварийной остановки.
Прекращение работы компрессора 15 отключением от сетевого шнура 14 при отсутствии, по данным диагностики, каких-либо повреждений в электромеханической системе холодильной машины — это оповещение о наличии утечки хладагента из нее.
Вместе с тем, при движении подвижного стержня 5 его контактная группа 7, размыкая контакты 11 в цепи пускозащитного реле 13 компрессора 15, замыкает контакты 16 автономной системы светозвуковой сигнализации, подключая к автономному источнику питания 17 лампу 18 световой сигнализации и звуковой сигнализатор 19 (возможно, с речевым оповещением) на панели индикации ПИ холодильного шкафа. Нахождение основания конусообразного упора 6 под сомкнувшимися пластинами 8 обеспечивает надежное замыкание контактов 16 светозвуковой сигнализации.
Удобство налаживания и обслуживания элементов отключения компрессора от сетевого шнура и включения светозвуковой сигнализации обеспечивается размещением их в пространстве под сервировочной плоскостью СП холодильного шкафа. Возврат устройства в рабочее положение обеспечивается перемещением подвижного стержня 5 в положение, при котором основание конусообразного упора 6 оказывается над подпружиненными пластинами 8: упор касается скошенной поверхностью пластин.
Предлагаемое устройство срабатывает независимо от места утечки хладагента из компрессорной системы бытового холодильника.
ЗАКЛЮЧЕНИЕ
Новизна предлагаемого устройства заключается в том, что оно реагирует не на появление в атмосферном воздухе вытекающего из компрессорной системы хладагента, а на снижение температуры на поверхности испарителя обусловленной утечкой хладагента, в процессе его кипения в испарителе морозильной камеры. Это делает устройство универсальным: его можно использовать в компрессорных системах, заправленных любым, в том числе взрывопожароопасным, хладагентом. В этом заключается также принципиальное отличие этого устройства от других известных устройств для определения утечек хладагентов из компрессорных систем. Применение его повышает техническую и экологическую безопасность малой холодильной техники, работающей на взрывопожароопасных хладагентах, а также позволит обеспечить сохранность пищевых продуктов, хранящихся в домашних условиях у потребителя [6].
ДОПОЛНИТЕЛЬНАЯ ИНФОРМАЦИЯ
Источник финансирования. Авторы заявляют об отсутствии внешнего финансирования при проведении исследования и подготовке публикации.
Конфликт интересов. Авторы декларируют отсутствие явных и потенциальных конфликтов интересов, связанных с публикацией настоящей статьи.
Вклад авторов. М.В. Дёмин — обзор литературы, сбор и анализ литературных источников, написание текста и редактирование статьи; Р.В. Брюшков — обзор литературы, сбор и анализ литературных источников, подготовка и написание текста статьи; В.Е. Лёвкина — обзор литературы, сбор и анализ литературных источников, написание текста и редактирование статьи. Все авторы подтверждают соответствие своего авторства международным критериям ICMJE (все авторы внесли существенный вклад в разработку концепции, проведение исследования и подготовку статьи, прочли и одобрили финальную версию перед публикацией).
ADDITIONAL INFORMATION
Funding source. The authors state that there is no external funding for the research and preparation of the publication.
Competing interests. The authors declare that they have no competing interests.
Author contribution. M.V. Demin — literature review, collection and analysis of literary sources, writing and editing the article; R.V. Bryushkov — literature review, collection and analysis of literary sources, preparation and writing of the text of the article; V.E. Levkina — literature review, collection and analysis of literary sources, writing and editing the article. All authors confirm that their authorship meets the international ICMJE criteria (all authors have made a significant contribution to the development of the concept, research and preparation of the article, read and approved the final version before publication).
About the authors
Mikhail V. Demin
Federal State Budgetary Educational Institution of Higher Education “Donetsk National University of Economics and Trade named after Mikhail Tugan-Barnovsky”
Email: demin.m@mail.ru
ORCID iD: 0000-0002-3571-4121
SPIN-code: 6065-5721
candidate of technical sciences, associate professor
Russian Federation, DonetskRuslan V. Bryushkov
Krasnodar Branch of the Federal State Budgetary Educational Institution of Higher Education Plekhanov Russian University of Economics
Email: pochta_brv@mail.ru
ORCID iD: 0000-0001-5455-527X
SPIN-code: 5211-1109
Candidate of Technical Sciences
Russian Federation, KrasnodarVictoria E. Levkina
Krasnodar Branch of the Federal State Budgetary Educational Institution of Higher Education Plekhanov Russian University of Economics
Author for correspondence.
Email: levika@list.ru
ORCID iD: 0000-0002-6623-5473
SPIN-code: 5980-1933
Russian Federation, Krasnodar
References
- Osokin VV, Kudrin AB, Demin MV. On the influence of ambient temperature on the thermal energy characteristics of a household refrigerator. Kholodilna tekhnіka i tekhnologіya. 2011;1(129):17–22. (In Russ.)
- Osokin V.V., Kudrin A.B., Demin M.V. On the thermodynamic and thermophysical basis of a non-gas analysis method for identifying refrigerant leaks from the compressor system of a working household refrigerator — using the example of DH-239 filled with isobutane. Kholodilna tekhnіka i tekhnologіya. 2011;4(132):9–16. (In Russ.)
- Demin MV, Kudrin AB. Determination of refrigerant leakage under variable parameters that affect the energy efficiency of a domestic refrigerator. In: Innovations in the food industry and service. electronic collection of materials of the III International Scientific and Practical Conference dedicated to the 100th anniversary of the Kuban State Technological University. Krasnodar: KubGTU; 2018:145–148. (In Russ.)
- Demin MV, Bryushkov RV, Kuleshov DK. Refrigeration issues. Research on the performance characteristics of a household refrigeration appliance at different ambient temperatures. Sfera uslug: innovatsii i kachestvo. 2016. № 24. С. 11. (In Russ.) EDN WTHUIX
- Demin MV, Bryushkov RV. Refrigeration issues. On the development of a method for identifying leaks from the refrigeration system of a domestic refrigerator. Sfera uslug: innovatsii i kachestvo. 2016;25:9. (In Russ.) EDN: WTIAKZ
- Demin MV, Bryushkov RV, Borovkov SA. Ensuring food safety during food storage by increasing the reliability of refrigeration equipment. In: V International Scientific and Practical Conference “Topical Issues of Modern Scientific Research: Theory and Practice”. Collection of scientific works of teachers. Krasnodar: Krasnodarskiy filial REU im GV Plekhanova; 2021:173–181. (In Russ.) EDN QSFHIS
- Bryushkov RV, Demin MV, Kudrin AB. Study of the main factors influencing the operating conditions and components of refrigeration equipment on the heat and power efficiency of the system as a whole. In: VI International Interuniversity Scientific and Practical Conference of teachers and students “Modern trends and problems of science in the development of digital and innovative technologies.” Collection of scientific works of teachers. Krasnodar: Krasnodarskiy filial REU im GV Plekhanova; 2022:77–87. (In Russ.) EDN VFFWWG
Supplementary files



