Technologies increasing the distillation performance
- Authors: Liu Z.1, Kupriyanov M.Y.1, Kononova V.D.1
-
Affiliations:
- Bauman Moscow State Technical University
- Issue: Vol 113, No 2 (2024)
- Pages: 54-61
- Section: Reviews
- URL: https://freezetech.ru/0023-124X/article/view/635216
- DOI: https://doi.org/10.17816/RF635216
- EDN: https://elibrary.ru/YDAIBB
- ID: 635216
Cite item
Abstract
Improving the energy efficiency of distillation columns widely used in various industries is the focus of many researchers. Although conventional state-of-the-art distillation columns are widely used and cost efficient, new technologies can significantly reduce operating costs, the overall cost of a distillation plant and are important for global sustainable development. This article reviews and compares technologies aimed at increasing the energy efficiency of distillation plants, including multi-effect distillation, thermally coupled distillation, and diabatic distillation. Multi-effect distillation allows increasing the number of separation stages, thereby increasing the process efficiency. In thermally coupled distillation, the number of required heat exchangers is reduced through direct contact of steam and liquid flows fed from different columns. In diabatic distillation, controlled heat exchange devices are used to approximate process conditions to phase equilibrium line of the system. The paper also describes some promising developments improving the design of distillation columns, including the dividing-wall column and distillation with intermediate heat exchangers. These technologies have their advantages and can be integrated in industrial processes under certain conditions. This article is aimed at reviewing and comparing the existing common solutions designed to increase the energy efficiency of distillation columns.
Full Text
Введение
Широкое применение чистых газов и жидкостей в различных областях промышленности ведет к необходимости их получения в достаточных количествах с требуемыми параметрами (состав, агрегатное состояние, давление). Получение веществ с необходимыми параметрами сопряжено с процессами разделения исходных смесей, в основе которых лежит использование тех или иных отличий в свойствах разделяемых компонентов. Среди множества известных методов разделения (сорбционных, мембранных, термодиффузионных и других) доминирующее место в промышленности занимают испарительно-конденсационные методы разделения, в частности ректификация [1]. Ректификация в настоящее время является наиболее эффективным и незаменимым способом разделения воздуха, углеводородов и других смесей [2].
Сущность процесса ректификации заключается в тепломассообмене между неравновесными потоками жидкости и пара, движущимися навстречу друг другу. В результате массообмена пар обогащается низкокипящими, а жидкость высококипящими компонентами. Процессы ректификации осуществляются в специальных аппаратах — ректификационных колоннах (РК). Технологическая схема ректификационных аппаратов зависит от состава разделяемой смеси, требований к качеству продуктов разделения, места аппарата в технологической цепочке, возможностей уменьшения энергетических затрат и других факторов, учесть которые для однозначного выбора конкретной схемы невозможно [3]. Классическая ректификационная колонна состоит из конденсатора, рабочей части колонны, заполненной насадочным материалом, и испарителя. Для разделения многокомпонентных смесей или в целях получения продукта высокой чистоты обычно применяются установки, состоящие из нескольких последовательно установленных ректификационных колонн (каскада колонн). В целях снижения энергетических затрат на обеспечение работы подобных систем находят применение специально разработанные схемы. Настоящая работа посвящена обзору и сравнению наиболее распространенных из них.
Двухколонная ректификационная установка
При разделении трехкомпонентных смесей в каскадах из двух колонн обычно рассматривают двухколонную схему с первым заданным разделением (рис. 1 a) и со вторым заданным разделением (рис. 1 b). Первая схема характеризуется тем, что в первой колонне выделяется наиболее низкокипящий компонент (НКК), а два других компонента разделяются во второй колонне, вторая схема обеспечивает выделение наиболее высококипящего компонента (ВКК) в первой колонне, а разделение двух других компонентов происходит во второй колонне.
Рис. 1. Двухколонные схемы разделения трехкомпонентной смеси [5]. a — двухколонная схема с первым заданным разделением; b — двухколонная схема со вторым заданным разделением.
Fig. 1. Two-column separation for three-component mixture [5]. a, Two-column configuration with the first specified separation; b, Two-column configuration with the second specified separation.
Выбор оптимальной технологической схемы для разделения смеси заданного состава из представленных двухколонных вариантов обычно базировался на эвристических правилах, но ни одно из них не являлось исчерпывающим. В связи с этим, появились некоторые исследовательские работы, которые посвящены поиску границ областей исходных составов разделяемых смесей, в которых энергетически выгодна та или иная из представленных на рис. 1 схем.
В статье [4] автор разработал алгоритмы и комплекс программ для анализа технологических схем ректификации. В основу своего алгоритма он положил критерий, пропорциональный суммарным энергетическим затратам теплоты в обоих колонах, однако, не было учтено различие в теплоте парообразования компонентов. Тем не менее, был получен диапазон оптимальности двухколонной схемы со вторым заданным разделением.
Работа [5] посвящена поиску научного обоснования существования оптимальных областей двухколонных схем при разделении трехкомпонентной смеси на основе анализа внутреннего энергосбережения в ректификационных колоннах. Под внутренним энергосбережением понимается степень использования парового потока из испарителя РК в процессах тепломассообмена на всех тарелках колонны, определяемое следующей зависимостью [6]:
(1)
где R — флегмовое число; ny — число теоретических тарелок в укрепляющей секции; no — число теоретических тарелок в отгонной секции.
В работе [5] было подтверждено, что при разделении трехкомпонентных смесей с малым содержанием двух наиболее летучих компонентов энергетически менее затратна двухколонная схема со вторым заданным разделением. Кроме того, в работе приведено выражение, описывающее границу областей оптимальности рассмотренных схем разделения. В качестве модельных смесей, авторами рассматривались смеси бензола, толуола и о-ксилола. Таким образом, существующие исследования схем двухколонных ректификационных установок позволяют выбрать наиболее энергетически эффективную схему в зависимости от исходных концентраций компонентов разделяемой смеси.
Многоэффектная (многоступенчатая) ректификация
Сущность многоэффектной (multi-effect) ректификации заключается в том, что поток из конденсатора первой ступени используется для обеспечения работы испарителя второй ступени, а поток из конденсатора второй ступени, используется для обеспечения работы испарителя третьей ступени, и так далее (рис. 2). По аналогии с колоннами двукратной ректификации, ступени многоэффектной ректификационной установки соединены посредством конденсаторов-испарителей. Для функционирования колонн необходимо обеспечить работу испарителя первой ступени и конденсатора n-ой ступени.
Рис. 2. Технологическая схема многоэффектной ректификации [7].
Fig. 2. Multi-effect distillation flow diagram [7].
Литературный поиск показал, что энергосбережение при использовании многоэффектной ректификации по сравнению с одной ректификационной колонной связано с количеством применяемых ступеней [8]. При использовании двухступенчатой схемы оно составляет 50%, при использовании трехступенчатой схемы — 67%, для четырехступенчатой схемы — 75%. На практике, наиболее применимы двух- или трехступенчатые схемы многоэффектной ректификации, обеспечивающие баланс между эксплуатационными и капитальными затратами.
Схемы многоэффектной ректификации принято разделять на несколько типов в зависимости от метода подачи исходной смеси в ступени разделения:
- параллельно-поточные, в которых смесь подается одновременно в колонну высокого давления (КВД) и колонну низкого давления (КНД) (рис. 3 а);
- нисходящие, в которых смесь из КВД подается в КНД (рис. 3 b);
- противоточные: смесь из КНД подается в КВД (рис. 3 c) [9].
Рис. 3. Схемы многоэффектной ректификации [9]. a — параллельно-поточная схема; b — нисходящая схема; c — противоточная схема.
Fig. 3. Multi-effect distillation configurations [9]. a, Parallel-flow configuration; b, Downward-flow configuration; c, Counter-flow configuration.
В настоящее время многоэффектная ректификация находит применение в этаноловой промышленности, в крупных воздухоразделительных установках (в виде колонн двукратной ректификации), в процессах опреснения морской воды.
Термически связанная ректификация
Под термически связанной ректификацией понимается ректификация, в которой тепло передается за счет прямого контакта потоков пара и жидкости из различных ректификационных колонн [10]. Подавая потоки флегмы и кубовой жидкости в колонну предварительного разделения путем непосредственного отбора потоков пара и жидкости из основной колонны, можно добиться значительной экономии энергии для многокомпонентного разделения [11]. Следовательно, по сравнению с двухколонной установкой снижается необходимое количество аппаратов — конденсаторов и/или испарителей. На рис. 4 представлены схемы термически связанной ректификации. По схеме Петлюка (Petlyuk), приведенной на рис. 4 а, трехкомпонентная смесь ABC поступает в колонну предварительного разделения, в которой получают поток AB, обогащенный НКК — A; и BC, обогащенный ВКК — C. Затем, потоки направляются в основную ректификационную колонну, где происходит их дальнейшее разделение на чистые компоненты A, B и С. В литературе указывается, что такая схема разделения снижает эксплуатационные затраты на 30% по сравнению с прямым разделением трехкомпонентной смеси в двух колоннах [12].
Компактная модификация колонны Петлюка представлена рис. 4 b и называется DWC. Данная схема отличается меньшими капитальными затратами за счет того, что колонна предварительного разделения смонтирована в корпусе основной ректификационной колонны. В зависимости от положения разделительной стенки схемы DWC разделяют на DWC-FC (рис. 5), DWC-SR (разделительная стенка внизу) и DWCSS (разделительная стенка вверху). В открытых источниках упоминается о применении DWC-FC для разделения трехкомпонентной смеси, состоящей из пентана, гексана и гептана [14]. При этом, авторами утверждается о снижении потребления энергии на 16% при применении данной схемы, по сравнению с традиционным методом последовательной ректификации. Для системы, состоящей из этанола, н-пропанола и нбутанола было отмечено уменьшение энергозатрат на 34% [14]. Таким образом, термическая связанная ректификация является перспективным методом повышения энергоэффективности и на сегодняшний день находит применение в промышленности, однако, следует также отметить, что DWC схемы сложны в оптимизации и управлении.
Рис. 4. Схемы термически связанной ректификации [13]. a — схема Петлюка (Petlyuk); b — схема с разделительной стенкой (DWC).
Fig. 4. Thermally coupled distillation configurations [13]. a, Petlyuk configuration; b, Dividing-wall column configuration (DWC).
Рис. 5. Схема с разделительной стенкой DWC-FC [14].
Fig. 5. Dividing-wall column configuration (DWC-FC) [14].
Диабатическая ректификация
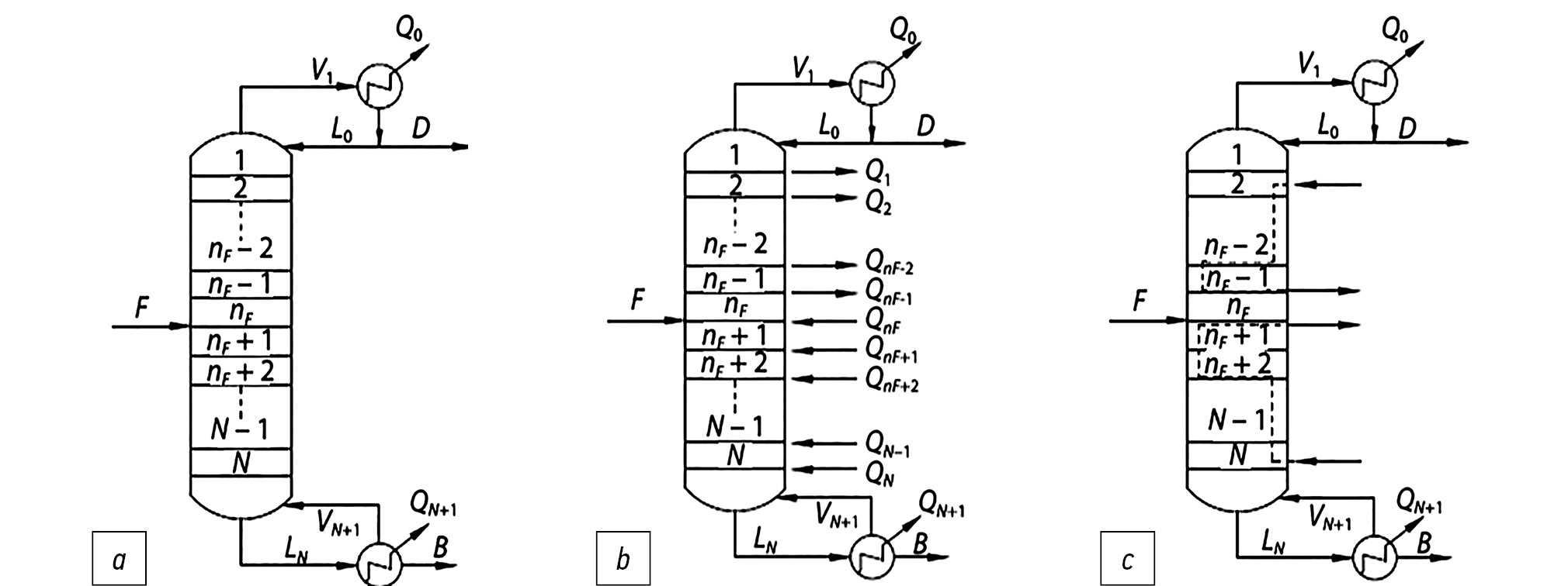
Обычно рабочая часть ректификационных колонн теплоизолируется, однако, если присутствует передача тепла в рабочей части колонны, то такая ректификационная колонна называется диабатической [11]. Переход от адиабатной к диабатической колонне позволяет достичь экономии энергии за счет перераспределения части входного или выходного тепла на нескольких различных уровнях температур, что снижает стоимость теплоносителей и хладагентов [15]. Схематичные изображения адиабатной и диабатических ректификационных колонн приведены на рис. 6 а, b, c, соответственно [16].
Рис. 6. Сравнение адиабатической и диабатической колонн [16]. a — адиабатная колонна; b — диабатическая колонна; c — диабатическая колонна с последовательными теплообменниками.
Fig. 6. Comparison of adiabatic and diabatic columns [16]. a, Adiabatic column; b, Diabatic column; c, Diabatic column with sequential heat exchangers.
В процессе полностью диабатической ректификации используются теплообменники, установленные на каждой теоретической тарелке. Эти устройства передают энергию между тарелками, стремясь приблизить рабочий процесс к линии фазового равновесия, что демонстрирует диаграмма Мак-Кэба и Тиле приведенная на рис. 7 а для двухсекционной, состоящей из 10 теоретических тарелок, диабатической колонны. На рис. 7 b приведена диаграмма Поншона-Бошняковича для аналогичной колонны. Ее отличительной чертой от обычной адиабатный ректификационной колонной служит переменное положение полюса для различных теоретических тарелок [17]. Энергоэффективность в такой установке будет выше, чем в адиабатной колонне.
Рис. 7. Диаграммы диабатной ректификации [17]. a — диаграмма Мак-Кэба и Тиле; b — диаграмма Поншона-Бошняковича.
Fig. 7. Diabatic distillation flow diagrams [17]. a, McCabe–Thiele diagram; b, Ponchon–Bosnjakovic diagram.
Полностью диабатическая ректификация требует значительных инвестиций в оборудование и является сложной в эксплуатации, что ограничивает ее широкое применение в промышленности. В частичной диабатической ректификации теплообмен осуществляется только на некоторых тарелках рабочей части колонны, что позволяет улучшить термодинамические характеристики РК при относительно небольшом увеличении инвестиций. Следовательно, частичная диабатическая ректификация обладает более высокой практической ценностью и перспективами для эксплуатации.
Примером частичной диабатической ректификации служат диабатические колонны с промежуточными теплообменными аппаратами, подробно рассмотренные в работе [18]. При этом технологические схемы таких колонн предусматривают промежуточную конденсацию или промежуточное испарение. Тот или иной аппарат интегрируется в колонну согласно правилу, представленному в открытых источниках, в соответствии с которым если сырьем является насыщенная жидкая фаза, обогащенная легкими компонентами (молярная концентрация легких компонентов больше 0,5), промежуточный испаритель улучшает термодинамическую эффективность лучше, чем промежуточный конденсатор, а если сырьем является насыщенная газовая фаза, обогащенная тяжелыми компонентами, интеграция промежуточного конденсатора более эффективна [19]. Отметим также, что в исследовании [20] моделирование диабатической ректификации смеси с исходным содержанием 20% по НКК показало, что промежуточный конденсатор уменьшает потери 29%, а промежуточный испаритель снижает их на 8,4% по сравнению с обычной адиабатической ректификацией, что подтверждает приведенное в работе [19] правило.
Сравнение рассмотренных методов и схем повышения энергоэффективности
В настоящей работе рассмотрены основы некоторых наиболее распространенных методов и схем повышения энергоэффективности при ректификации. Простая ректификационная установка представляет собой совокупность колонн, каждая из которых состоит из конденсатора, рабочей части и испарителя.
Многоэффектная (multi-effect) ректификация характеризуются использованием потока из конденсатора первой ступени для обеспечения работы испарителя следующей ступени. Для всей многоступенчатой системы при многоэффектной ректификации необходимо лишь обеспечить работу испарителя первой ступени и конденсатора n-ой ступени. Термически связанная ректификация отличается тем, что благодаря прямому контакту потоков пара и жидкости из различных РК снижается количество необходимых теплообменных аппаратов. Диабатическая ректификация характеризуется тем, что в колонне применяются управляемые теплообменные аппараты, обеспечивающие приближение условий рабочего процесса к линии фазового равновесия системы. Все указанные схемы ведут к повышению энергоэффективности по сравнению с простой ректификационной установкой. В табл. 1 представлены основные достоинства и недостатки рассмотренных схем.
Таблица 1. Основные достоинства и недостатки схем установок ректификации
Table 1. Main advantages and disadvantages of rectification plant schemes
Схема | Достоинства | Недостатки |
Простая ректификационная установка | + простая конструкция + гибкость в эксплуатации + зрелость технологии | - высокое энергопотребление - большие размеры |
Многоэффектная ректификация | + низкие эксплуатационные затраты за счет повышения энергоэффективности | - высокие капитальные затраты - сложность проектирования |
Термически связанная ректификация (с разделительной стенкой) | + низкие эксплуатационные затраты за счет повышения энергоэффективности + малые занимаемые площади | - сложность проектирования - сложность эксплуатации |
Диабатическая ректификация (с промежуточными теплообменными аппаратами) | + низкие эксплуатационные затраты за счет повышения энергоэффективности +улучшение термодинамических характеристик | - сложность проектирования - сложность эксплуатации |
Заключение
В общем, существует разнообразие энергосберегающих технологий ректификационной колонны. Поддерживая качество и количества продукции в соответствии со стандартами, мы можем активно экспериментировать с энергоэффективным процессом ректификации для повышения экономической эффективности.
Прежде чем определить конкретный процесс ректификации и выбрать подходящие схемы для ректификации, можно заранее оценить эффект от процесса ректификации с помощью имитационных расчетов, чтобы убедиться, что конечные результаты ректификации соответствуют ожидаемым требованиям. Для моделирования процесса ректификации обычно используется программное обеспечение, включая Aspen и PRO/II, кроме того, Matlab, Visual C++, Delphi и другое. Эти программы подходят для моделирования специальных или сложных ректификационных систем.
Использование моделирования позволяет сэкономить большое количество экспериментальных ресурсов, снизить стоимость проб и ошибок, а также эффективно избежать рисков безопасности, вызванных неправильной установкой рабочих параметров. Кроме того, анализируя результаты моделирования, можно определить рабочие параметры или стратегии, которые могут быть дополнительно оптимизированы для повышения эффективности ректификации и качества продукции.
Дополнительная информация
Конфликт интересов. Авторы декларируют отсутствие явных и потенциальных конфликтов интересов, связанных с проведённым исследованием и публикацией настоящей статьи.
Источник финансирования. Авторы заявляют об отсутствии внешнего финансирования при проведении исследования и подготовке публикации.
Вклад авторов. Ч. Лю — обзор литературы, сбор и анализ литературных источников, написание текста и редактирование статьи; М.Ю. Куприянов, В.Д. Кононова — анализ литературных источников и редактирование статьи. Все авторы подтверждают соответствие своего авторства международным критериям ICMJE (все авторы внесли существенный вклад в разработку концепции, проведение исследования и подготовку статьи, прочли и одобрили финальную версию перед публикацией).
Additional information
Competing interests. The authors declare that they have no competing interests.
Funding source. This study was not supported by any external sources of funding.
Author contribution. Z. Liu: Literature review, collection and analysis of literary sources, writing and editing of the article; M.Yu. Kupriyanov, V.D. Kononova: analysis of literary sources, editing of the article. All authors made a substantial contribution to the conception of the work, acquisition, analysis, interpretation of data for the work, drafting and revising the work, final approval of the version to be published and agree to be accountable for all aspects of the work.
About the authors
Zhangxinyi Liu
Bauman Moscow State Technical University
Author for correspondence.
Email: lyuch@student.bmstu.ru
ORCID iD: 0009-0004-5524-8537
Russian Federation, 5 2nd Baumanskaya st, Moscow, 105005
Maksim Yu. Kupriyanov
Bauman Moscow State Technical University
Email: kupriyanov.m@bmstu.ru
ORCID iD: 0000-0003-2180-1221
SPIN-code: 2716-2525
Cand. Sci. (Tech.)
Russian Federation, 5 2nd Baumanskaya st, Moscow, 105005Victoria D. Kononova
Bauman Moscow State Technical University
Email: victoriadmitrievna@live.ru
ORCID iD: 0009-0008-8609-6205
SPIN-code: 5369-7308
Russian Federation, 5 2nd Baumanskaya st, Moscow, 105005
References
- Kalinina EI, Brodyansky VM. Technical and economic analysis of systems of separation of gas mixtures. Moscow: MEI; 1979. (In Russ.)
- Golovko GA. Cryogenic production of inert gases. Mashinostroenie, 1983. (In Russ.)
- Alexandrov IA. Rectification and absorption apparatuses: (Calculation methods and basics of design). Moscow: Khimiya; 1965. (In Russ.)
- Beregovykh VV, Korabel’nikov MM, Serafimov LA. Strategy of synthesis and analysis of technological schemes of rectification. Chem. pharm. Journal. 1985;(3):202–206. (In Russ.) Accessed: 27.08.2024. Available from: http://magzdb.org/num/3157279
- Zakharov MK, Pisarenko YA. Theoretical rationale for the selection of the optimal scheme of separation of the three-component mixture. Fine Chemical Technologies. 2017;12(4):43–49. (In Russ.) doi: 10.32362/2410-6593-2017-12-4-43-49
- Zakharov MK, Shvets AA. Dependence of external and internal energy-saving for rectification of binary mixtures. Fine Chemical Technologies, 2016,11(1):40–44. (In Russ) doi: 10.32362/2410-6593-2016-11-1-40-44
- Li Q, Ye Y. Principle of multiple-effect distillation and its application. Progress in Chemical Engineering. 1992;(6):40–43. (In Chinese) Accessed: 27.08.2024. Available from: https://d.wanfangdata.com.cn/periodical/QK000001312316
- Phillip CW. Multi-effect distillation processes. Industrial & Engineering Chemistry Research. 1993;32(5):894–905. doi: 10.1021/ie00017a017
- Dai WY, Gu LL, Guo XT, et al. Research progress on energy-saving technologies of double-effect distillation. Chemical Technology. 2013;(1):54–57. (In Chinese) doi: 10.3969/j.issn.1008-0511.2013.01.014
- Bravo-Bravo C, Segovia-Hernández JG, Gutiérrez-Antonio C, et al. Extractive dividing wall column: design and optimization. Industrial & Engineering Chemistry Research. 2010;49(8):3672–3688. doi: 10.1021/ie9006936
- Kartashov MO. Optimal design of rectification plants in Aspen Plus. 2020. (In Russ.) Accessed: 27.08.2024. Available from: http://earchive.tpu.ru/handle/11683/61004
- Zhai C, Liu Q, Romagnoli JA, et al. Modeling/simulation of the dividing wall column by using the rigorous model. Processes. 2019;7(1):26. doi: 10.3390/pr7010026
- Dejanović I, Matijašević L, Olujić Ž. Dividing wall column — A breakthrough towards sustainable distilling. Chemical Engineering and Processing: Process Intensification. 2010;49(6):559–580. doi: 10.1016/j.cep.2010.04.001
- Hu Y, Sun H, Li C, et al. Design of reaction region of reactive dividing wall column based on cross-wall heat transfer. Industrial & Engineering Chemistry Research. 2023;62(12):5430–5444. doi: 10.1021/acs.iecr.2c04358
- Lemberg AS, Zemtsov DA, Voinov NA. The possibility of modelling distillation columns in simulation software. Reshetnev Readings. 2021:118–119. (In Russ.) EDN: VYNZVL
- Spasojević MĐ, Janković MR, Đaković DD. Entropy production minimization in a multicomponent diabatic distillation column. Thermal Science. 2020;24(3P.B):2256–2266. doi: 10.2298/TSCI181206284S
- Rivero R. Exergy simulation and optimization of adiabatic and diabatic binary distillation. Energy. 2001;26(6):561–593. doi: 10.1016/S0360-5442(01)00020-2
- Gao Xiaoxin, Zhu Biyun, Lin Fangyi, et al. The simulation for ethylene distillation column with inter-condenserand inter-reboiler. Journal of Changzhou University: Natural Science Edition. 2016;28(3):27–30. (In Chinese) doi: 10.3969/j.issn.2095-0411.2016.03.006
- Agrawal R, Herron DM. Efficient use of an intermediate reboiler or condenser in a binary distillation. AIChE journal. 1998;44(6):1303–1315. doi: 10.1002/aic.690440608
- Jin Liangjie, Bai Peng, Guo Xianghai. Energy-saving optimization of partial diabatic distillation with side streams. Journal of Chemical Engineering. 2019;70(5):1804–1814. (In Chinese). doi: 10.11949/j.issn.0438-1157.20181449
Supplementary files










