Thermal Potential of Soil as a Source of Energy for Heating and Cooling of Buildings
- Authors: Zharov A.A.1, Kasatkin A.V.1, Borisenko A.V.1
-
Affiliations:
- Bauman Moscow State Technical University
- Issue: Vol 110, No 3 (2021)
- Pages: 137-144
- Section: Reviews
- URL: https://freezetech.ru/0023-124X/article/view/543460
- DOI: https://doi.org/10.17816/RF543460
- ID: 543460
Cite item
Abstract
This article describes the problem of the operation of modern and, in the future, under-construction buildings and the need to install energy-efficient heating and cooling systems. The proposed system utilizes the thermal potential of the soil with an annual cycle for heating and cooling purposes of the building. In winter mode, the refrigerant circulates in the system via gravitational forces when it boils at the bottom of the heat pipe immersed in the soil, taking heat from the latter, and condenses at the top of the heat pipe, transferring heat to the air or liquid coolant of the building heating system. The refrigerant then flows downward due to gravity. However, during the summer, lifting the refrigerant condensed in the lower in-ground portion of the heat pipe to the top to evaporate and cool the building is a difficult engineering task, especially if the goal is not to use electricity. Liquid lift options used in an energy-efficient building HVAC system were described. A review of possible solutions that can lift fluids to the top with minimal energy input was also performed. Two different types of capillary lift systems, ultrasonic lift, the possibility of combining the above methods, and osmotic lift, steam pump lift, and the classic submersible pump were all considered. A qualitative comparative analysis of the proposed variants was performed, and the final result based on the scheme was provided. The tasks for further research and experiment setting were also proposed.
Full Text
ВВЕДЕНИЕ
Стоимость исчерпаемых источников энергии непрерывно растет. Как следствие, затраты на эксплуатацию зданий тоже растут. В связи с чем существует необходимость уменьшать энергопотребление зданий или искать альтернативные источники энергии. Также, возможным решением является увеличение энергоэффективности установок, применяемых в системах отопления, вентиляции и кондиционирования. Одним из предложенных вариантов являются вертикальные тепловые трубы. В зимнем режиме установка работает как термосифон, однако существует проблема подъема жидкости в трубе в летнем режиме.
ОБОСНОВАНИЕ
Для переноса теплоты сверху вниз в летнем режиме тепловой трубы необходимо реализовать подъем жидкости. Данная работа посвящена исследованию возможных способов подъема жидкости, с акцентом на поиск безмашинного способа подъема.
К разработке системы представляются следующие требования:
- минимизация затрат на электроэнергию;
- максимизация надежности;
- максимизация простоты;
- для максимальной плотности конструкции при заданном объеме, необходимо поднимать жидкость на наибольшую возможную высоту.
Сложность поиска также обусловлена отсутствием методик расчета для некоторых решений по причине отсутствия необходимости применения в других конструкциях.
МЕТОДЫ
Капиллярные силы — силы, которые приводят к подъему или опусканию жидкости в капиллярах. Так, например вода в тонкой стеклянной трубке поднимется вверх, а ртуть спустится вниз. Это зависит от угла смачиваемости жидкости. Высота зависит от значения поверхностного натяжения.
Капиллярно-пористый подъем — имеет схожий эффект. Он происходит за счет капиллярных сил, но имеет более объемное распространение по телу, в отличие от перемещения жидкости по трубке. Наглядно можно наблюдать этот эффект, прикоснувшись нижней частью куба рафинированного сахара к глади жидкости горячего чая. В момент после прикосновения с жидкостью чай начнет просачиваться в кусок сахара за счет капиллярных сил по всему объему куска сахара.
Данный эффект может найти свое применение в тепловых трубах. А так как это максимально близкая по смыслу конструкция, то начнем исследование с возможности применения капиллярно-пористого подъема из зоны конденсации в зону испарения. Основным различием здесь является разница давлений между указанными зонами. Так как чаще всего трубы располагаются горизонтально, то разница давлений сводится к нулю.
После проведенного литературного поиска были найдены следующие варианты конструкции, по расположению капиллярно-пористого материала:
Тепловая труба Гоглера
Первый вариант конструктива и непосредственное воплощение данного способа переноса жидкости из одной области в другую. Ниже приведем цитату из патента:
Пат. США 2 350 348 (1942) Тепловая труба Гоглера [1]. Цель изобретения: «... обеспечение поглощения теплоты, или другими словами, испарения жидкости в точке, лежащей выше области конденсации или зоны отвода теплоты, без дополнительных затрат на подъем жидкости от уровня конденсатора».
Изображение из патента с переводом, показано на рис. 1 и 2.
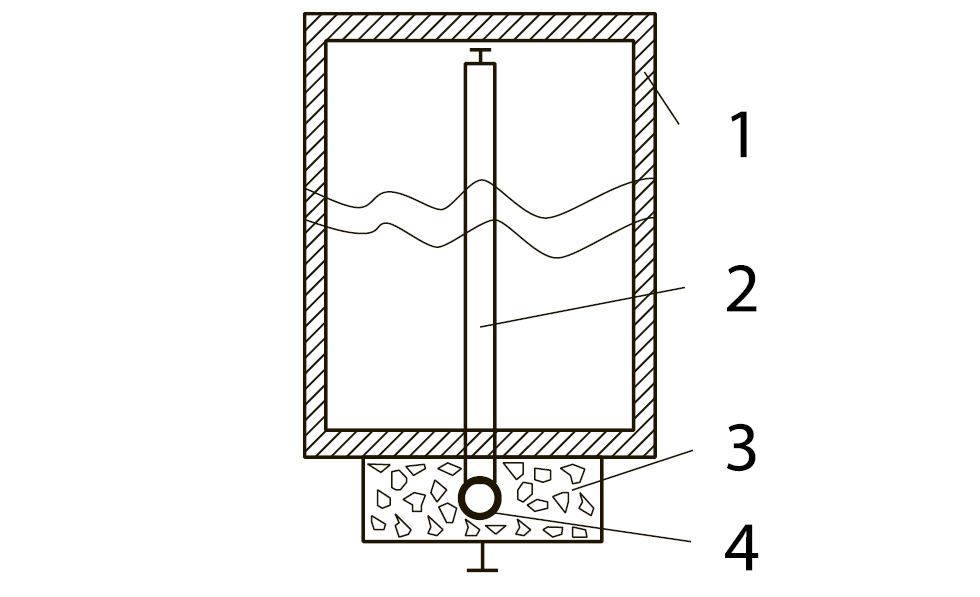
Рис. 1 Тепловая труба Гоглера (1 — холодильный агрегат, 2 — тепловая труба, 3 — куски льда, 4 — конденсатор).
Fig. 1. Gaugler heat pipe (1 — refrigeration unit, 2 — heat pipe, 3 — ice chunks, 4 — condenser).
Рис. 2 Варианты геометрии ТТ (1 — паровой канал, 2 — фитиль).
Fig. 2. Variants of TT geometry (1 — steam channel, 2 — wick).
Как можно видеть Гоглер предлагал не только способ реализации тепловой трубы, но и возможные варианты геометрии капиллярно-пористых структур. К сожалению, его работа, выполненная для компании General Motors Corp, так и не была реализована, по причине дороговизны указанного способа.
В действительности, в настоящее время стали известны другие способы получения требуемых структур. Нет необходимости получать чрезмерно точную геометрию ячеек, достаточно лишь получить развитую пористую структуру. Более того, с того времени изменились нормы по потреблению энергоресурсов, теперь данная работа приобретает актуальность.
Основным элементом, принятым для сравнения из этого варианта, возьмем наличие капиллярно-пористой структуры, расположенной в середине конструкции.
Следующий вариант, рассматриваемого конструктива появился только спустя 20 лет и представлен в Патенте США 3 229 759 (1963) Тепловая труба Гровера [2].
Изображение конструктива представлено на рис. 3.
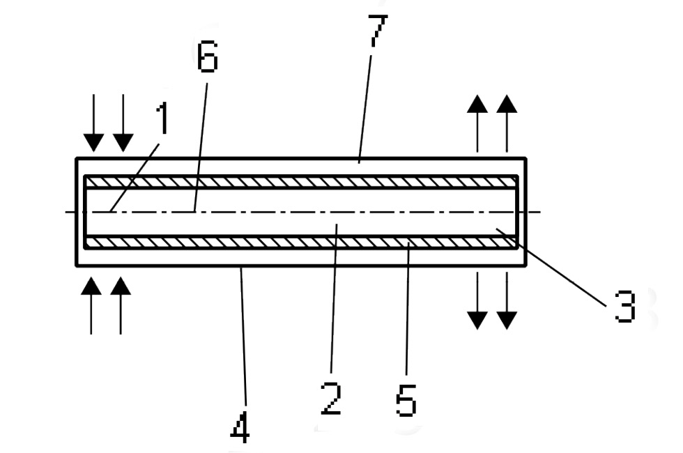
Рис. 3 Тепловая труба Гровера (1 — зона испарения, 2 — зона транспорта пара, 3 — зона конденсации, 4 — корпус, 5 — КПМ, 6 — паровой поток, 7 — возврат конденсата).
Fig. 3. Grover heat pipe (1 — evaporation zone, 2 — vapor transport zone, 3 — condensation zone, 4 — body, 5 — CPM, 6 — steam flow, 7 — condensate return).
Корпус из нержавеющей стали, фитиль — проволочная сетка, рабочая жидкость — натрий, литий, серебро — это классический тип тепловой трубы с использованием капиллярного эффекта, который обеспечивает независимость положения зоны испарения в гравитационном поле. Однако, эта независимость далеко не беспредельна. Гравитационные тепловые трубы называют термосифонами, а капиллярные — классической тепловой трубой (ТТ).
Наиболее распространенный тип тепловой трубы — тепловая труба, разработанная Гровером Г.М., состоит всего из трех элементов:
- корпус,
- рабочая жидкость,
- КПМ.
Корпус — обеспечивает изоляцию рабочей жидкости от внешней среды и должен быть герметичным, выдерживать перепад давлений между внутренней и внешней средами, обеспечивать подвод теплоты к рабочей жидкости и отвод теплоты от нее.
Исходя из описаний реализации подъема в капиллярно-пористых структурах, можно реализовать подъем лишь на небольшую высоту. Способствовать процессам, связанных со смачиваемостью капилляров возможно, вызвав кавитацию в объеме. Это реализуется, например, с помощью ультразвука.
Для получения ультразвуковых колебаний предыдущим способом требуется подведение электроэнергии. Ультразвуковые установки достаточно дороги не только при покупке, но и при последующем использовании, поэтому, стоит рассмотреть другие способы, требующие подвода энергии.
Спустя 10 лет, после изобретения тепловой трубы Гровера, Д. Чисхольм, опубликовал патент для антигравитационного термосифона [3]:
ТТ-6. Д. Чисхольм, США, 1974 Антигравитационный термосифон (диаметр термосифона — 2 см, трубы — 1 см, вода 100 °C, плотность осевого потока тепла — 1,2 кВт (высота — 10 калибров). Конструкция изображена на рис. 4:
Рис. 4 Антигравитационный термосифон (1 — зона испарения, 2 — зона конденсации, 3 — жидкость, 4 — эрлифтовая труба, 5 — электронагреватель, 6 — выходное отверстие, 7 — кольцевой канал).
Fig. 4. Antigravity thermosiphon (1 — evaporation zone, 2 — condensation zone, 3 — liquid, 4 — erlift tube, 5 — electric heater, 6 — outlet, 7 — annular channel).
Трехступенчатый термосифон (паровой насос) теоретически может обеспечить теплопередачу 14 кВт по вертикали на расстояние 10 м при работе на воде с рабочей температурой 100 °C.
В природе известны способы подъема жидкости на несколько метров, например в деревьях. За счет развитой структуры внутри ствола, жидкость поднимается вверх по аналогии с капиллярно-пористыми структурами.
Известен патент Ролана Шерифа Шейкха для обеспечения капельницы [4].
Указанная цель движения жидкости в капельнице достигается тем, что в осмотическом насосе, согласно изобретению, камера осмотической жидкости выполнена подвижной и расположена между двумя поршнями, жидкостный барьер установлен непосредственно между камерой осмотической жидкости и камерой осмотической соли, а корпус представляет собой корпус впрыскивающего вещества.
Жидкостный барьер, в этом случае, преимущественно выполнен в виде листа фольги с возможностью разрушения при необходимости использования осмотического насоса.
РЕЗУЛЬТАТЫ И ОБСУЖДЕНИЕ
Сравнение вышеописанных систем, начнем с тех систем, которые минимально потребляют внешнюю энергию. Естественным путем, жидкость поднимается в системах тепловых труб Гровера или Гоглера. Несомненным плюсом этих конструкций являются высокая надежность и низкая стоимость, в связи с отсутствием движущихся частей. Однако, конструкция, для работы в параллельном режиме получается слишком сложной для производства. Также возникают вопросы к возможной высоте подъема.
Система с осмотическим подъемом выглядит более реальной. Однако, в связи со сложностью расчетов, затруднено определение стоимости и неясным остается вопрос о ее высокой надежности.
Система с паровым тепловым насосом [5–7], способна поднять жидкость на достаточно большую высоту и не сложна в расчете. Однако, потери на фазовый переход в процессе подъема весьма велики.
Существует возможность разделения единой системы в систему с промежуточным хладоносителем и капиллярным подъемом в локальные теплообменники [8–10]. Однако этот способ не рационален с энергетической точки зрения, в связи с увеличением теплообменных аппаратов.
Последним вариантом, позволяющим поднять жидкость на большую высоту, с минимальными потерями по фазовому переходу и не сложный к расчету является погружной насос.
Рис. 5 Система тепловых труб с погружными насосами (UHPE — upper heat pipe exchanger (верхний теплообменный аппарат тепловой трубы), LHPE — lower heat pipe exchanger (нижний теплообменный аппарат тепловой трубы), P — pump (насос), HP — heat pipe (тепловая труба), HPR — heat pipe receiver (ресивер тепловой трубы))
Fig. 5. Heat pipe system with submersible pumps (UHPE — upper heat pipe exchanger, LHPE — lower heat pipe exchanger, P — pump, HP — heat pipe, HPR — heat pipe receiver).
Применение данной схемы, с параллельной увязкой по воздуху изображено на рис. 5:
ЗАКЛЮЧЕНИЕ
Существует возможность реализовать капиллярный подъем на большую высоту. Однако, в настоящее время этот вопрос малоизучен, так как для экспериментальной базы необходимо проведение большого числа экспериментов. Этот способ относится к задачам дальнейшего исследования и постановки экспериментов.
В качестве средства подъема жидкости в тепловой трубе, лучше использовать простой погружной насос, так как он обладает низким показателем потреблении энергии, относительно высокой надежностью и низкой стоимостью.
ДОПОЛНИТЕЛЬНО
Вклад авторов. Все авторы внесли существенный вклад в разработку концепции и подготовку статьи, прочли и одобрили финальную версию перед публикацией.
Конфликт интересов. Авторы заявляют об отсутствии конфликта интересов, связанного с подготовкой и публикацией статьи.
Источник финансирования. Авторы заявляют об отсутствии внешнего финансирования при проведении исследования и подготовке публикации.
About the authors
Anton A. Zharov
Bauman Moscow State Technical University
Author for correspondence.
Email: zharov_a@bmstu.ru
ORCID iD: 0000-0001-9945-0850
SPIN-code: 8581-1809
Cand. Sci. (Tech.)
Russian Federation, 1 Lefortovskaja naberezhnaja, 105005Alexey V. Kasatkin
Bauman Moscow State Technical University
Email: alexfr93@yandex.ru
ORCID iD: 0009-0004-1114-9908
Russian Federation, 1 Lefortovskaja naberezhnaja, 105005
Artem V. Borisenko
Bauman Moscow State Technical University
Email: borart@bmstu.ru
ORCID iD: 0000-0002-4818-3702
SPIN-code: 2859-5006
Cand. Sci. (Tech.)
Russian Federation, 1 Lefortovskaja naberezhnaja, 105005References
- Patent USA 2350348A 1942 / 21.12.1942. Gaugler RS. Heat transfer device. [Accessed: 09.04.2021] Available from: https://patents.google.com/patent/US2350348A/en?oq=2350348
- Patent USA 3229759A 1963 / 02.12.1963. Grover GM. Evaporation-condensation heat transfer device [Accessed: 09.04.2021] Available from: https://patents.google.com/patent/US3229759A/en?oq=U.S.+Patent+No.+3%2c229%2c759.
- Patent USA 3965970A 1973 / 10.10.1974. Chisholm D. Control of two-phase thermosyphons [Accessed: 09.04.2021] Available from: https://patents.google.com/patent/US3965970A/en?q=(Anti-gravity+thermosiphon+Chisholm)&oq=Anti-gravity+thermosiphon+Chisholm.
- Patent RUS 2098141C1 1990 / 17.12.1991. Sheriff Sheikh Roland. Osmotic pump. (In Russ). [Accessed: 09.04.2021] Available from: https://patents.google.com/patent/RU2098141C1/ru?oq=2098141.
- Zhang Q, Scholar M, Stewart SW, et al. Bubble pump modeling for solar hot water heater system design optimization. Penn State McNair J. 2011;18:167–187. [Accessed: 09.04.2021] Available from: https://gradschool.psu.edu/sites/GradSchool/McNairJournals/mcnair_jrnl2011/files/PSU_McNair_Vol18.pdf#page=181
- Sathe ABHIJIT. Experimental and theoretical studies on a bubble pump for a diffusion absorption refrigeration system. India Institute of Technology, Madras, India; 2001. [Accessed: 09.04.2021] Available from: https://citeseerx.ist.psu.edu/document?repid=rep1&type=pdf&doi=618cf1ab4919a8fcfa0152872af6d6030ae84bd2
- Shelton SV, Stewart SW, Erickson D, et al. Bubble pump design for single pressure absorption refrigeration cycles. Ashrae Transactions. 2002;108(1):867–876. [Accessed: 09.04.2021] Available from: https://www.researchgate.net/profile/Sam-Shelton-3/publication/280015230_Bubble_Pump_Design_for_Single_Pressure_Absorption_Refrigeration_Cycles/links/004635318bc935ad47000000/Bubble-Pump-Design-for-Single-Pressure-Absorption-Refrigeration-Cycles.pdf
- Li J, Zou Y, Cheng L. Experimental study on capillary pumping performance of porous wicks for loop heat pipe. Experimental Thermal and Fluid Science. 2010;34(8):1403–1408. doi: 10.1016/j.expthermflusci.2010.06.016
- Renard E. Implantable closed-loop glucose-sensing and insulin delivery: the future for insulin pump therapy. Current opinion in pharmacology. 2002;2(6):708–716. doi: 10.1016/S1471-4892(02)00216-3
- Zimmermann M, Schmid H, Hunziker P, et al. Capillary pumps for autonomous capillary systems. Lab on a Chip. 2007;7(1):119–125. doi: 10.1039/B609813D
Supplementary files








