Features of designing air conditioning systems according to new building codes
- Authors: Kokorin O.Y.1
- 
							Affiliations: 
							- Doctor of Engineering, Sciences, Prof.
 
- Issue: Vol 93, No 9 (2004)
- Pages: 34-38
- Section: Articles
- URL: https://freezetech.ru/0023-124X/article/view/101215
- DOI: https://doi.org/10.17816/RF101215
- ID: 101215
Cite item
Full Text
Abstract
New standards with regards to systems of heating, ventilation, air conditioning and building climatology introduce considerable changes when choosing the regimes of preparation ofthe conditioned air. A higher humidity of the outside air design parameters has required obligatory use of the regimes of refrigeration and drying of the inlet outside air. Based on the use of York equipment, energy efficient air conditioning systems are being developed.
Keywords
Full Text
В течение многих десятилетий при проектировании систем отопления, вентиляции и кондиционирования воздуха пользовались СНиП, в которых даны таблицы расчетных параметров наружного воздуха А и Б для холодного и теплого периодов года. С января 2004 г. прежние СНиП были отменены и стал действовать новый нормативный документ [2], в котором таблицы расчетных климатических условий отсутствуют. Вместо этого предлагается руководствоваться новым СНиП по строительной климатологии [3] и проектировать системы кондиционирования (СКВ) для теплого и холодного периодов года по параметрам Б. В обоих нормативных документах [2, 3] численные значения для параметров А и Б отсутствуют. Возникает вопрос: где и как находить численные значения нормируемых параметров А и Б, которые регламентированы новым СНиП [2]?
Проведем анализ влияния новых климатических нормативов на проектирование СКВ в Москве. По новым правилам температура наружного воздуха наиболее холодной пятидневки равна [3]:
обеспеченностью 0,98 tнх = -30 °C; обеспеченностью 0,92 tнх = -28 °C.
В прежних СНиП параметрам Б отвечала средняя температура наиболее холодной пятидневки = -26 °C. Сравнение показывает, что новые нормативные параметры наружного воздуха [3] требуют увеличения расчетной теплопроизводительности теплообменников и расхода тепла. В связи с этим энергетически эффективно применять установки утилизации теплоты вытяжного воздуха для нагрева приточного наружного воздуха.
Высокоэффективные СКВ для общественных и промышленных зданий, в том числе с установками утилизации тепла, создаются на базе оборудования фирмы “Йорк” [4].
Рис. 1. Построение на l-d-диаграмме энергосберегающего режима работы СКВ в холодный период года. Условные обозначения режимов: НХ-Н2-нагрев приточного наружного воздуха в теплоотдающем теплообменнике установки утилизации; Н2-ПН — догрев воздуха в калорифере теплотой горячей воды; ПН-П-увлажнение паром; П-В-У1-поглощение тепло-и влаговыделений по высоте зрительного зала; У1-У2 — извлечение теплоты вытяжного воздуха на нагрев циркулирующего в установке утилизации антифриза
На рис. 1 показано построение на диаграмме расчетного режима работы СКВ с применением оборудования фирмы “Йорк” в здании театра. Зимой е зрительном зале театра поддерживаются температура 20 °C и относительная влажность 30 % (точка В) что соответствует уровню теплового комфорта для людей без верхней одежды в помещении в холодные период года [2]. Приточный воздух с температуре! 17 °C (точка 77) подается под кресла, а отепленный i влажный воздух (точка У7) удаляется под потолком Зрительный зал не имеет наружных ограждений, и 1 нем может находиться до 2000 зрителей. Явное тепло, выделяемое людьми,Qт.я.л= 2000-87 = 174 000 Вт
влаговыделенияWВЛ.Л = 2000-40 = 80 000 г/ч. Во время представления освещение выключается, и поступления тепла от него нет.
По санитарным нормам [2] (20 м3/ч воздуха на человека) под кресла необходимо подать приточный наружных воздух в количестве
Lпн = 2000-20 = 40 000 м3/ч.
Оценим возможность восприятия расчетных тепло-и влаговыделений этим количеством приточного воздуха. Через точку В проводим луч £в процесса восприятия приточным воздухом тепло-и влаговыделений от зрителей:
кДж/кг
где г = 2349 кДж/кг -скрытая теплота парообразования при температуре испарения.
В месте пересечения луча в = 10179 кДж/кг с комфортной температурой притока tп= 17 °C находим точку П с dn = 4 г/кг. Вычисляем требуемый перепад температур и влагосодержаний по высоте зрительного зала для восприятия расчетных тепло-и влагопоступлений от зрителей:
по температуре
по влагосодержанию
Здесь рпн =1,2 кг/м3 -плотность приточного наружного воздуха, ср = 1 кДж/(кг-К) -теплоемкость воздуха.
При требуемых и ac и ac параметры удаляемого под потолком отепленного и влажного вытяжного воздуха должны быть:
ty1= tn + ас = 17 + 13 = 30 °C;
dy1= dn + ас = 4 + 1,67 = 5,67 г/кг.
На рис. 1 получаем точку У1 с параметрами ty1 = 30 °C; dy1 = 5,67 г/кг; Iу1 = 44,5 кДж/кг.
Наиболее надежной в эксплуатации в климате России с низкими зимними температурами наружного воздуха [3] является установка утилизации с насосной циркуляцией антифриза [1]. Используя оборудование фирмы “Йорк” [4], можно создать установки утилизации с показателем теплотехнической эффективности Qtyy = 0,5. Для рассматриваемой СКВ театра температура приточного наружного воздуха, нагретого утилизируемой теплотой вытяжного воздуха, составит
tH2= Qtуу(ty1-tHX)+tHX= 0.5(30+ 28) -28 = 1 °C.
Энтальпия вытяжного воздуха (кДж/кг) после в вытяжном агрегате определяем по формуле
Iy2=Iy1-
При сохранении в зрительном зале воздушного баланса Lпн = Ly = 40000 м3/ч. По формуле (1) получим
Iy2=44.5- = 13,6 кДж/кг.
Рис. 2. Построение на I-d-диаграмме энергосберегающего режима работы СКВ в теплый период года. Условные обозначения режимов: Н-ОХ - охлаждение и осушение приточного наружного воздуха в теплообменнике установки утилизации ;ОХ-П — нагрев в калорифере теплотой отепленной воды после конденсатора холодильной маши- 1 ны;П-В-У1 - поглощение тепло- и влаговыделений по высоте зритель ного зала; У1-У2 — восприятие удаляемым воздухом оставшейся теплоты конденсации холодильной машины
По рекомендациям [1] точку У2 находим при у2 =88 %. Тогда ty2 = 3,2 °C. Проведенный расчет и построение на рис. 1 показали, что извлечение теплоты вытяжного воздуха протекает при положительных температурах. Для повышения надежности работы установки утилизации в схему рециркуляции антифриза дополнительно включен пластинчатый теплообменник. При крайне низких температурах наружного воздуха (например, tнх = -30 °C в климате Москвы [3]) на поверхности теплоизвлекающего теплообменника может замерзать конденсат, что приведет к возрастанию аэродинамического сопротивления. Датчик контроля повышения аэродинамического сопротивления подает команду на открытие автоматического клапана на трубопроводе поступления горячей воды в пластинчатый теплообменник.
Для догрева приточного наружного воздуха до температуры tПН= tП= 17 °C в приточном агрегате предусмотрен теплообменник, питаемый горячей водой (процесс Н2-ПН). Увлажнение приточного воздуха по санитарно-гигиеническим требованиям осуществляется паром (процесс ПН-П).
При отсутствии в составе СКВ установки утилизации годовой расход тепла (кВт ч) в приточном агрегате может быть вычислен по формуле
т.пн=LпнρСр (tпн-tн.ср)/3600сквz
где tн.ср -средняя температура наружного воздуха за период, когда tих 10 °C (для климата Москвы tн.ср = -2,2°С[3]);
z -продолжительность периода tнх 10 °C в течение года для климата Москвы (равна 231 сут [3]);
скв-время работы СКВ в течение суток (для зрительного зала принимаем 6 ч/сут).
Для СКВ без установки утилизации годовой расход тепла рассчитываем по формуле (2):
т.пн= 400001,22 1(17 + 2,2)/36006231=360730 кВтч.
В СКВ с установкой утилизации при Qtyy = 0,5 перед калорифером средняя за год температура приточного наружного воздуха равна
tн.ср = Qtyy (ty1-tн.ср) + tн.ср = 0,5(30 + 2,2) -2,2 =14°C.
По формуле (2) годовой расход тепла составит
т.пнуу = 40000×1,22×1(17-14)/3600×6×231=56364 кВт-ч.
Годовая экономия теплоты от применения установки утилизации СКВ зрительного зала
т.пн.УУ = 360730 -56364 = 304366 кВт ч.
При стоимости тепла 0,4 руб/(кВт-ч) годовая экономия от применения установки утилизации
С т.уу = 304366×0,4 = 121746 руб.
Удельную стоимость установки утилизации оценим в 10 руб/м3 в час (по приточному наружному возду-ху).
Капитальные затраты на сооружение установки утилизации для театра составят:
Куу = 10×40 000 = 400 000 руб.
Срок окупаемости установки утилизации в нашем примере
ок = 400 000/121 746 = 3,3 года.
Ежегодное повышение стоимости тепла обеспечит более быструю окупаемость установки утилизации.
Для теплого периода года режим работы СКВ рассчитывали по параметрам Б, которые по прежним СНиП для Москвы составляли: tH = 28,5 °C; Iн = 54 кДж/кг. По новым нормам [ 2, 3] параметров Б нет. В СНиП по строительной климатологии [3] для
Москвы в теплый период года температура наружного воздуха:
при обеспеченности 0,95 tн = 22,6 °C;
при обеспеченности 0,98 tн = 26,3 °C.
Относительная влажность наружного воздуха в 15 ч наиболее теплого месяца (φн = 56 % [3]. На рис. 2 на диаграмме влажного воздуха показаны параметры наружного воздуха Б по прежним СНиП (точка HБ) и параметры для обеспеченности 0,98 по СНиП [3] (точка Н). Заштрихованным сектором выделены комфортные параметры воздуха в зоне зала, где находятся зрители [2]. Как видно из построения, расчетное влагосодержа-ние при параметрах Б (точка HБ, dnB =10 г/кг) ниже влагосодержания при максимально допустимых комфортных параметрах (точка В, dB = =12 г/кг). По новым нормативам [3] расчетное влагосодержание наружного воздуха равно dH = 12 г/кг, что определяет необходимость осуществления в приточном агрегате режимов охлаждения и осушения наружного воздуха. Это позволит поглощать тепло-и влаговыделения от людей в зале, которые в теплый период года составляют:
Qтял = 2000×58= 116 000 Вт;
Wвлл = 2000×50 = 100 000 г/ч.
Через точку В проводим луч процесса:
в == 6525 кДж/кг.
Подача охлажденного и осушенного воздуха под кресла в теплый период года ограничивает температуру притока значением tп = 19 °C. В месте пересечения изотермы 19 °C и луча процесса находим требуемые параметры приточного воздуха: dn = 10,6 г/кг, IП= 46 кДж/кг (точка П).
По прежним нормам (точка ЯБ) можно было осуществлять охлаждение приточного наружного воздуха при постоянном влагосодержании, так как требуемое влагосодержание приточного воздуха dп = 10,6>dнб = 10 г/кг. Такой режим потребления холода является энергетически наиболее эффективным.
По новым значениям нормируемых параметров наружного воздуха в теплый период года [3] для получения требуемых параметров приточного воздуха (точка П) необходимо охлаждать и осушать приточный наружный воздух. Режимы осушения воздуха при контакте с холодной оребренной поверхностью теплообменников протекают с различной интенсивностью по высоте ребра. У основания устанавливается наиболее низкая температура ребра, которая должна быть ниже точки росы охлаждаемого и осушаемого воздуха. В этой части оребрения воздух охлаждается до полного насыщения. При дальнейшем понижении температуры насыщенного воздуха выпадает конденсат. По высоте ребра температура воз-, растает, и у вершины ребер воздух может охлаждаться, без изменения влагосодержания. На выходе из воздухоохладителя осушенный и охлажденный воздух смешивается с охлажденным воздухом при постоянном влагосодержании, и конечная относительная влажность охлажденного и осушенного воздуха будет менее 100 %. В работе [1] рекомендуется конечную относительную влажность охлажденного и осушенного воздуха φох принимать:
- при начальной относительной влажности до 40 % φох = 88 %;
- при начальной относительной влажности от 40 до 70 % φох = 92 %;
- при начальной относительной влажности от 70 % и более φох=98 %.
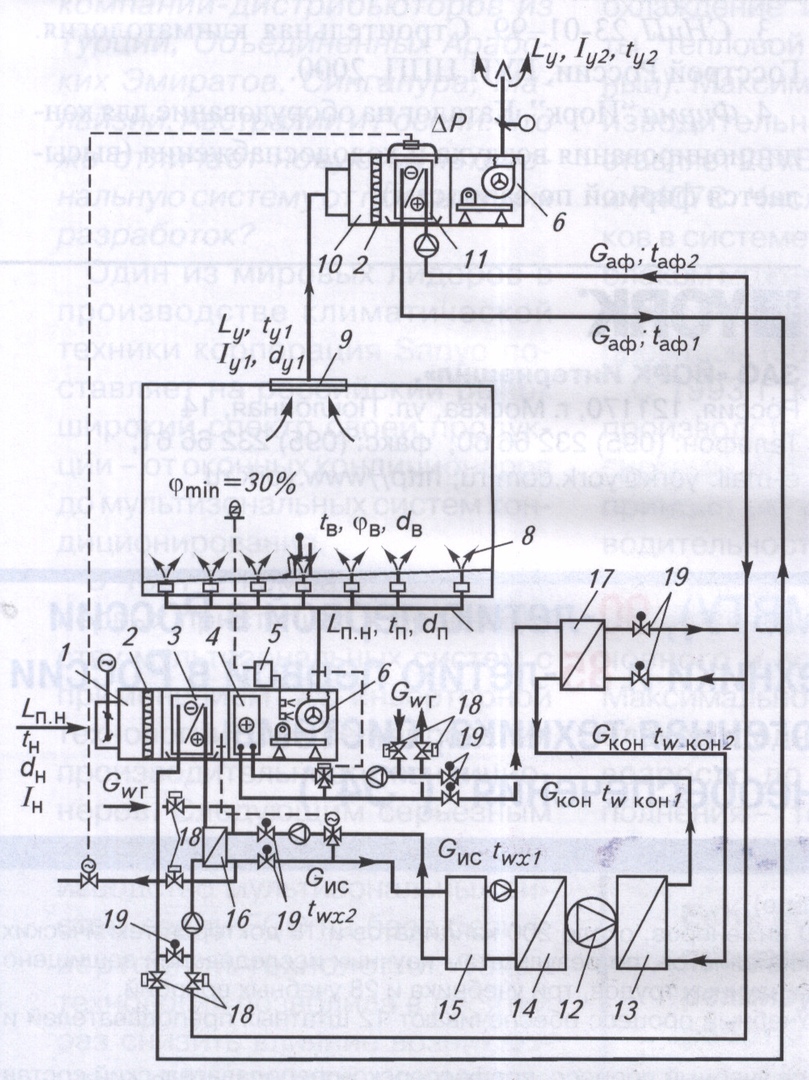
Рис. 3. Принципиальная схема энергосберегающей СКВ зрительного зала. 1 - приточный агрегат: 2 - фильтр; 3 - теплоотдающий теплооб менник установки утилизации, летом — воздухоохладитель; 4 - калорифер; 5 — паровой увлажнитель; 6 - вентиляторный агрегат; 7 - коллектор приточного воздуха Lnu; 8 - воздухораспределитель пос креслом; 9 - вытяжной сборник L ; 10 - вытяжной агрегат; 11 - теплоизвлекающий теплообменник установки утилизации зимой, летом - охладитель конденсатора холодильной машины; 12 - компрессор холодильной машины; 13 - водяной конденсатор: 14 -испаритель; 15 - бак-аккумулятор холодной воды G ; 16 - пластин чатый теплообменник "антифриз - горячая вода ” зимой, "анти фриз — холодная вода ” - летом; 17 - пластинчатый теплообменник "антифриз - вода от конденсатора G ”; 18 — соленоидные клапаны: закрыты летом и открыты зимой; 19 - соленоидные клапаны: открыты летом и закрыты зимой
С учетом этих рекомендаций приточный наружный воздух (точка Н) охлаждается и осушается в воздухоохладителе приточного агрегата до параметров точки OX: tox = 16,2 °C; φох = 92 %; I ох = 43,2 кДж/кг.
Расчетный расход холодопроизводительности составит
Qхпн = Lпн ρпн (Iн-Iох)/3600 = 40 000-1,2(56 -43,2)/ 3600= 170,7 кВт.
Требуемая ассимиляционная способность приточного наружного воздуха:
tас = (116 000-3,6)/(40 000-1,2-1) = 8,7 °C;
dас = 100 000/(40 000-1,2) = 2,08, г/кг.
Тогда параметры вытяжного воздуха:
ty1 = 19 + 8,7 = 27,7 °C;
dyt = 10,6 + 2,08= 12,68 г/кг.
В месте пересечения изотермы 27,7 °C с лучом процесса получим точку У1 с влагосодержанием dy1=12,7 г/кг, что и требуется по расчету.
Из построения на рис. 2 следует, что охлажденный и осушенный приточный наружный воздух из точки ОХ необходимо догреть до точки П. На нагрев осушенного воздуха пойдет
Qтпн = 40 000×1,2×1(19 -16,2)/3600 = 37,3 кВт.
Энергетически наиболее рационально для догрева осушенного приточного воздуха использовать отепленную воду после конденсатора холодильной машины, теплопроизводительность которого составляет
Qт.кон =Qх.пн -1,25 = 170,7-1,25 = 213,4 кВт
Основная часть теплоты конденсации передается в теплоизвлекающем теплообменнике установки утилизации в вытяжном агрегате. Температура выбрасываемого летом вытяжного воздуха будет t , (6ткон-ет.пн) 3600, (213,4-37,3) 3600 _
ty2=ty1 +°C
В целях удешевления СКВ предлагается на базе оборудования фирмы “Йорк” [4] связать центральный приточный, вытяжной агрегаты и холодильную машину по схеме на рис. 3. В приточном агрегате 1 теплообменник 3 зимой обеспечивает предварительный подогрев приточного наружного воздуха Lпн теплотой, извлекаемой из вытяжного воздуха Lу в теплообменнике 11 вытяжного агрегата 10. Для контроля возможного замерзания конденсата на оребренной поверхности теплоизвлекающего теплообменника 11 служит датчик замера аэродинамического сопротивления Др, который управляет автоматическим клапаном на трубопроводе прохода горячей воды GWr через пластинчатый теплообменник 16. В зимнем режиме работы СКВ соленоидные клапаны 18 на трубопроводах открыты, а соленоидные клапаны 19 закрыты. В летнем режиме работы СКВ соленоидные клапаны 18 закрыты, а соленоидные клапаны 19 открыты.
Благодаря использованию теплообменников 3 и 11 установки утилизации не только зимой, но и летом достигается значительное удешевление СКВ, снижается расход электроэнергии на работу вентиляторов и повышается энергетическая эффективность. Приточные/ и вытяжные 10 агрегаты, создаваемые на базе оборудования фирмы “Йорк” [4], могут иметь наиболее рациональные размеры поперечного сечения, позволяющие монтировать их во вспомогательных помещениях здания. Холодильные машины фирмы “Йорк” моделей LCHM и LCHHM [3] с водяным охлаждением конденсатора компактны и поставляются с полным комплектом автоматики. Холодильные машины модели LCHM на базе одного компрессора имеют холодопроизводительность 214.. .392 кВт. Холодильные машины модели LCHHM имеют два компрессора с двухконтурной циркуляцией хладагента и паспортную холодопроизводительность 494...793 кВт.
Обычно применение холодильных машин с водяным конденсатором требует наличия градирни или вентиляторного охлаждающего агрегата, размещение которых всегда связано с трудностями в отыскании рационального места для их монтажа.В предлагаемой энергосберегающей схеме СКВ (см. рис. 3) эти трудности отсутствуют. Часть теплоты конденсации 2ткон, отводимой в конденсаторе 13, полезно используется в калорифере 4 для догрева приточного охлажденного и осушенного воздуха до комфортной температуры притока tn = 19 °C (см. рис. 2). А оставшаяся часть теплоты конденсации расходуется в пластинчатом теплообменнике 17 на нагрев антифриза Саф, циркулирующего с помощью насоса по трубкам теплообменника 11 в вытяжном агрегате 10.
About the authors
O. Ya. Kokorin
Doctor of Engineering, Sciences, Prof.
							Author for correspondence.
							Email: info@eco-vector.com
				                					                																			                								
MGSU
Russian FederationReferences
Supplementary files
 
				
			 
					 
						 
						 
									





